US12357041 - Bulletproof wearable with heat control

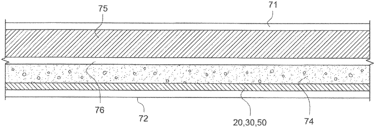
This patent describes a bulletproof wearable garment that integrates a removable electrical heating panel to provide warmth in cold conditions, featuring a controller module for regulating power and feedback on its operating mode. The design includes a space for a bulletproof panel and allows the wearer to easily switch the heating on or off.
Claim 1
- A bulletproof article of apparel comprising a fabric shell adapted with ballistic absorbing properties, an electrical heating panel formed of a material to which is incorporated a pattern of one or more electrical heating conductors, said electrical heating panel being removably retained in a configured space behind said ballistic absorbing properties of said fabric shell, a dc voltage supply cable adapted to be secured to said one or more electrical heating conductors, a controller module securable to said dc voltage supply cable and to a dc battery to control a supply voltage to said one or more electrical heating conductors, said controller module being retained at a location accessible to a wearer person fitted with said bulletproof article of apparel, said controller module having a switch function accessible to said wearer person for switching said battery power on/off and regulating the voltage supply to said one or more electrical heating conductors, and feedback means to inform said wearer person of the operating mode selected by a switch actuation made by said wearer person.
Google Patents
https://patents.google.com/patent/US12357041
USPTO PDF
https://image-ppubs.uspto.gov/dirsearch-public/print/downloadPdf/12357041