US12359685 - Clamp with cam lever

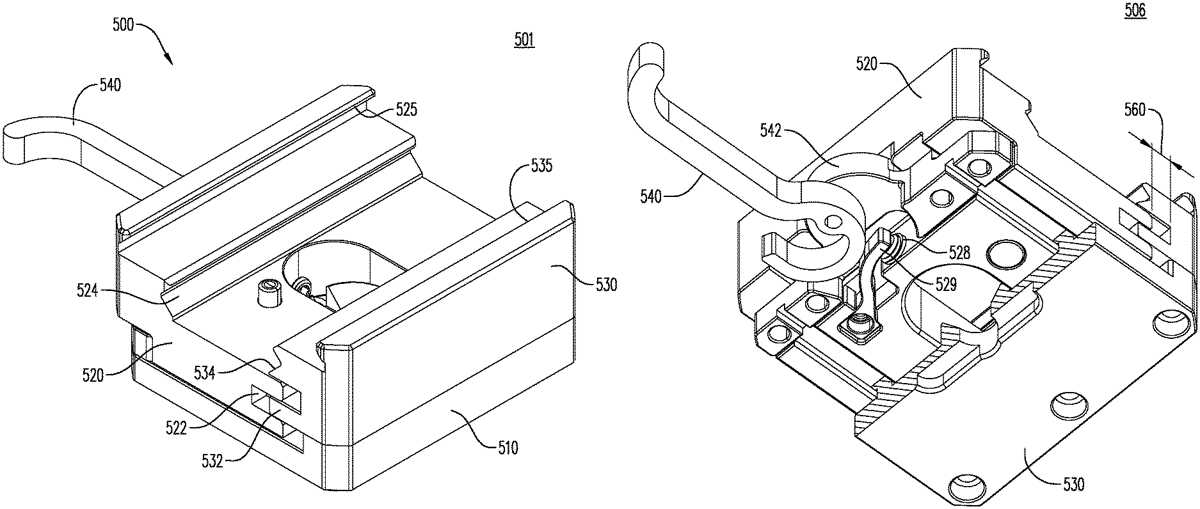
The patent describes a compressible cam lever mechanism designed for use in clamps that can hold various firearm accessories, enhancing the functionality of equipment like tripods. It features a base plate, static and slidable jaw plates, springs, and a cam lever that operates to close the jaws when turned, providing a secure grip on the held items.
Claim 1
- An apparatus, comprising: a base plate; a pair of jaw plates comprising a static jaw plate that is statically affixed to the base plate and a slidable jaw plate that sits on the base plate and slides toward and away from the static jaw plate; one or more springs disposed between the pair of jaw plates; and a cam lever that comprises a handle and an elliptical-shaped body coupled to the slidable jaw plate, wherein, when the cam lever is turned in a first direction, the elliptical-shaped body of the cam lever pushes on the slidable jaw plate causing the pair of jaw plates to close and the one or more springs to compress, and wherein the slidable jaw plate comprises a contact lever which contacts the elliptical-shaped body of the cam lever and which suppresses force applied by the elliptical-shaped body of the cam lever. a base plate; a pair of jaw plates comprising a static jaw plate that is statically affixed to the base plate and a slidable jaw plate that sits on the base plate and slides toward and away from the static jaw plate; one or more springs disposed between the pair of jaw plates; and a cam lever that comprises a handle and an elliptical-shaped body coupled to the slidable jaw plate, wherein, when the cam lever is turned in a first direction, the elliptical-shaped body of the cam lever pushes on the slidable jaw plate causing the pair of jaw plates to close and the one or more springs to compress, and wherein the slidable jaw plate comprises a contact lever which contacts the elliptical-shaped body of the cam lever and which suppresses force applied by the elliptical-shaped body of the cam lever.
Google Patents
https://patents.google.com/patent/US12359685
USPTO PDF
https://image-ppubs.uspto.gov/dirsearch-public/print/downloadPdf/12359685