US12359899 - Reduced tension cartridge case with two-stage neck

cartridgeammunitionfirearm
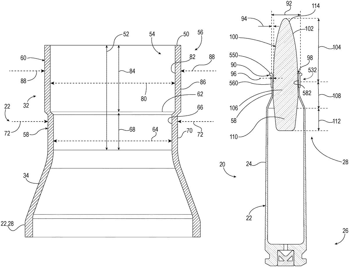
The patent describes a cartridge case featuring a two-stage neck designed to reduce the tension force on a projectile, incorporating both an interference band for retention and a clearance band for reduced friction. This innovative design aims to enhance the performance of the cartridge by optimizing the fit and movement of the projectile within the case.
Claim 1
- A cartridge for a firearm, comprising: a projectile; and a case, comprising: a base configured to hold a primer, a body extending from a first end adjacent the base to a second end, and a two-stage neck extending from the second end of the body to a mouth and configured to retain the projectile, the two-stage neck comprising a neck length, an interior surface, and an exterior surface, wherein the mouth is defined by a radially outwardly flaring of the interior surface and the exterior surface, the interior surface of the two-stage neck comprising: an interference band, adjacent the second end of the body, comprising an interference diameter and extending an interference length along the two-stage neck, the interference band configured to provide an interference fit with the projectile resulting in an interference retention force, a clearance band, adjacent the mouth of the two-stage neck, comprising a clearance diameter and extending a clearance length along the two-stage neck, the clearance diameter being greater than the interference diameter, and a transition portion located between and adjoining the interference band and the clearance band, wherein both the interference band and the clearance band are at least partially coextensive with the projectile, and wherein one or more of the interference length and the clearance length comprise about 25% or more of the two-stage neck length. a projectile; and a case, comprising: a base configured to hold a primer, a body extending from a first end adjacent the base to a second end, and a two-stage neck extending from the second end of the body to a mouth and configured to retain the projectile, the two-stage neck comprising a neck length, an interior surface, and an exterior surface, wherein the mouth is defined by a radially outwardly flaring of the interior surface and the exterior surface, the interior surface of the two-stage neck comprising: an interference band, adjacent the second end of the body, comprising an interference diameter and extending an interference length along the two-stage neck, the interference band configured to provide an interference fit with the projectile resulting in an interference retention force, a clearance band, adjacent the mouth of the two-stage neck, comprising a clearance diameter and extending a clearance length along the two-stage neck, the clearance diameter being greater than the interference diameter, and a transition portion located between and adjoining the interference band and the clearance band, wherein both the interference band and the clearance band are at least partially coextensive with the projectile, and wherein one or more of the interference length and the clearance length comprise about 25% or more of the two-stage neck length. a base configured to hold a primer, a body extending from a first end adjacent the base to a second end, and a two-stage neck extending from the second end of the body to a mouth and configured to retain the projectile, the two-stage neck comprising a neck length, an interior surface, and an exterior surface, wherein the mouth is defined by a radially outwardly flaring of the interior surface and the exterior surface, the interior surface of the two-stage neck comprising: an interference band, adjacent the second end of the body, comprising an interference diameter and extending an interference length along the two-stage neck, the interference band configured to provide an interference fit with the projectile resulting in an interference retention force, a clearance band, adjacent the mouth of the two-stage neck, comprising a clearance diameter and extending a clearance length along the two-stage neck, the clearance diameter being greater than the interference diameter, and a transition portion located between and adjoining the interference band and the clearance band, wherein both the interference band and the clearance band are at least partially coextensive with the projectile, and wherein one or more of the interference length and the clearance length comprise about 25% or more of the two-stage neck length. an interference band, adjacent the second end of the body, comprising an interference diameter and extending an interference length along the two-stage neck, the interference band configured to provide an interference fit with the projectile resulting in an interference retention force, a clearance band, adjacent the mouth of the two-stage neck, comprising a clearance diameter and extending a clearance length along the two-stage neck, the clearance diameter being greater than the interference diameter, and a transition portion located between and adjoining the interference band and the clearance band, wherein both the interference band and the clearance band are at least partially coextensive with the projectile, and wherein one or more of the interference length and the clearance length comprise about 25% or more of the two-stage neck length.
Google Patents
https://patents.google.com/patent/US12359899
USPTO PDF
https://image-ppubs.uspto.gov/dirsearch-public/print/downloadPdf/12359899