US12364323 - Quick detach belt loop

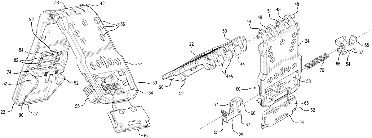
The patent describes a quick detach belt loop that features a pivotally coupled belt clamp with spring-biased locking mechanisms for securing holsters or accessories to a user’s belt. The design includes latching members that can be easily engaged or disengaged using opposing finger buttons, enhancing user convenience and functionality.
Claim 1
- A belt clamp for securing a holster or accessories to a user’s belt, the belt clamp comprising: a first plate and a second plate that are pivotally coupled at respective first ends; one or more spring biased first locking mechanisms configured to selectively and releasably connect a second end of the first plate to a second end of the second plate, wherein the one or more spring biased first locking mechanisms comprise one or more latching members positionable between a latched position and an unlatched position, wherein the one or more latching members comprise two finger buttons facing in opposite directions to one another, the one or more latching members configured to be biased to the latched position; and one of the second end of the first plate and the second end of the second plate comprising one or more second locking mechanisms configured to engage with the one or more latching members. a first plate and a second plate that are pivotally coupled at respective first ends; one or more spring biased first locking mechanisms configured to selectively and releasably connect a second end of the first plate to a second end of the second plate, wherein the one or more spring biased first locking mechanisms comprise one or more latching members positionable between a latched position and an unlatched position, wherein the one or more latching members comprise two finger buttons facing in opposite directions to one another, the one or more latching members configured to be biased to the latched position; and one of the second end of the first plate and the second end of the second plate comprising one or more second locking mechanisms configured to engage with the one or more latching members.
Google Patents
https://patents.google.com/patent/US12364323
USPTO PDF
https://image-ppubs.uspto.gov/dirsearch-public/print/downloadPdf/12364323