US12365304 - Igniter and gas generator

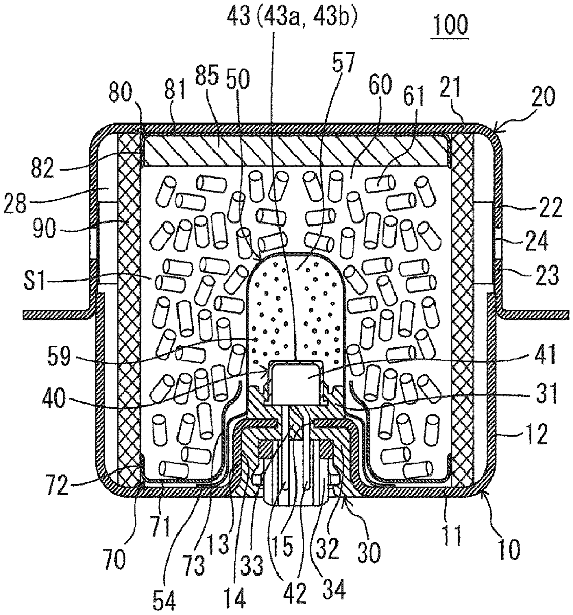
The patent describes an igniter and gas generator designed to improve fire transfer to an enhance agent by adjusting the elongation of a cup-shaped member during activation while ensuring sealability and insulation. It features a disk-type gas generator with internal components housed in a cylindrical structure, including a cup-shaped member made from a resin that allows for controlled elongation during use.
Claim 1
- An igniter comprising: a first cup-shaped member that has a bottomed cylindrical shape, internally includes an ignition charge, and has an opening fitted by a plug having a pair of electrode pins to which a resistor is connected; a second cup-shaped member that has a bottomed cylindrical shape and covers an outside of the first cup-shaped member; and a holder that integrally holds the pair of electrode pins, the plug, the first cup-shaped member, and the second cup-shaped member, wherein the second cup-shaped member includes a thermosetting resin or a thermoplastic resin including an elongation percentage adjusting material that adjusts an elongation percentage after molding to less than 10%. a first cup-shaped member that has a bottomed cylindrical shape, internally includes an ignition charge, and has an opening fitted by a plug having a pair of electrode pins to which a resistor is connected; a second cup-shaped member that has a bottomed cylindrical shape and covers an outside of the first cup-shaped member; and a holder that integrally holds the pair of electrode pins, the plug, the first cup-shaped member, and the second cup-shaped member, wherein the second cup-shaped member includes a thermosetting resin or a thermoplastic resin including an elongation percentage adjusting material that adjusts an elongation percentage after molding to less than 10%.
Google Patents
https://patents.google.com/patent/US12365304
USPTO PDF
https://image-ppubs.uspto.gov/dirsearch-public/print/downloadPdf/12365304