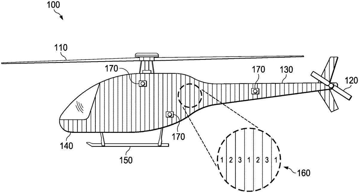
US12366432 - Active aircraft visual cloaking system

The patent describes an advanced cloaking system for aircraft that utilizes electroluminescent paint and cameras to dynamically match the aircraft’s appearance to its background environment. This technology enables improved camouflage by allowing the aircraft to adapt its color and luminescence in real-time, enhancing stealth capabilities beyond traditional methods.
Claim 1
- A cloaking system for an aircraft, comprising: (a) a first electroluminescent paint pattern applied to at least a portion of a first side of the aircraft such that the first electroluminescent paint pattern faces in a first direction, the first electroluminescent paint pattern comprising a repeating pattern of first, second, and third stripes having a first, second and third color, respectively, wherein the first stripes intersect with each other such that the first stripes are configured to be powered together with each other, wherein the second stripes intersect with each other such that the second stripes are configured to be powered together with each other, wherein the third stripes intersect with each other such that the third stripes are configured to be powered together with each other, wherein the first, second and third stripes are configured to be powered independently of each other; (b) a second electroluminescent paint pattern applied to at least a portion of a second side of the aircraft such that the second electroluminescent paint pattern faces in a second direction opposite the first direction, the second electroluminescent paint pattern comprising a repeating pattern of fourth, fifth, and sixth stripes having the first, second and third color, respectively, wherein the fourth stripes intersect with each other such that the fourth stripes are configured to be powered together with each other, wherein the fifth stripes intersect with each other such that the fifth stripes are configured to be powered together with each other, wherein the sixth stripes intersect with each other such that the sixth stripes are configured to be powered together with each other, wherein the fourth, fifth, and sixth stripes are configured to be powered independently of each other; (c) a first camera facing in the first direction such that the first camera is configured to detect a first background color in the sky on the first side of the aircraft; (d) a second camera facing in the second direction such that the second camera is configured to detect a second background color in the sky on the second side of the aircraft and different from the first background color; (e) one or more power sources configured to supply power to the first and second electroluminescent paint patterns; and (f) a processor coupled to the first and second electroluminescent paint patterns, the first and second cameras, and the one or more power sources, the processor configured to receive a notification of the first background color on the first side and to adjust the second electroluminescent paint pattern to resemble the first background color, the processor further configured to receive a notification of the second background color on the second side and to adjust the first electroluminescent paint pattern to resemble the second background color independently of the second electroluminescent paint pattern. (a) a first electroluminescent paint pattern applied to at least a portion of a first side of the aircraft such that the first electroluminescent paint pattern faces in a first direction, the first electroluminescent paint pattern comprising a repeating pattern of first, second, and third stripes having a first, second and third color, respectively, wherein the first stripes intersect with each other such that the first stripes are configured to be powered together with each other, wherein the second stripes intersect with each other such that the second stripes are configured to be powered together with each other, wherein the third stripes intersect with each other such that the third stripes are configured to be powered together with each other, wherein the first, second and third stripes are configured to be powered independently of each other; (b) a second electroluminescent paint pattern applied to at least a portion of a second side of the aircraft such that the second electroluminescent paint pattern faces in a second direction opposite the first direction, the second electroluminescent paint pattern comprising a repeating pattern of fourth, fifth, and sixth stripes having the first, second and third color, respectively, wherein the fourth stripes intersect with each other such that the fourth stripes are configured to be powered together with each other, wherein the fifth stripes intersect with each other such that the fifth stripes are configured to be powered together with each other, wherein the sixth stripes intersect with each other such that the sixth stripes are configured to be powered together with each other, wherein the fourth, fifth, and sixth stripes are configured to be powered independently of each other; (c) a first camera facing in the first direction such that the first camera is configured to detect a first background color in the sky on the first side of the aircraft; (d) a second camera facing in the second direction such that the second camera is configured to detect a second background color in the sky on the second side of the aircraft and different from the first background color; (e) one or more power sources configured to supply power to the first and second electroluminescent paint patterns; and (f) a processor coupled to the first and second electroluminescent paint patterns, the first and second cameras, and the one or more power sources, the processor configured to receive a notification of the first background color on the first side and to adjust the second electroluminescent paint pattern to resemble the first background color, the processor further configured to receive a notification of the second background color on the second side and to adjust the first electroluminescent paint pattern to resemble the second background color independently of the second electroluminescent paint pattern.
Google Patents
https://patents.google.com/patent/US12366432
USPTO PDF
https://image-ppubs.uspto.gov/dirsearch-public/print/downloadPdf/12366432