US12366437 - Transportable perforation tool

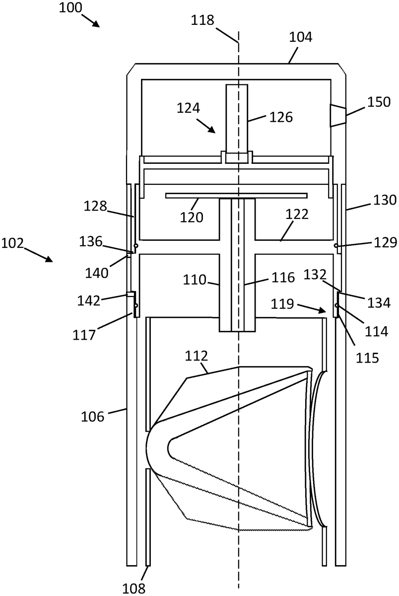
The patent describes a transportable well completion tool featuring a housing that contains an explosive charge module and a detonator module, separated by a bulkhead. It includes a containment cover that can be removed for deployment while incorporating detection means to ensure safety before the cover is taken off.
Claim 1
- A well completion tool, comprising: a tubular housing; a charge module comprising at least one explosive charge within the housing; an initiation module coupled to the housing and comprising a detonator; a bulkhead module within the housing between the charge module and the initiation module; and a containment cover secured to the housing and covering the detonator, wherein the containment cover has detection means for detecting discharge of the initiation module before removing the containment cover. a tubular housing; a charge module comprising at least one explosive charge within the housing; an initiation module coupled to the housing and comprising a detonator; a bulkhead module within the housing between the charge module and the initiation module; and a containment cover secured to the housing and covering the detonator, wherein the containment cover has detection means for detecting discharge of the initiation module before removing the containment cover.
Google Patents
https://patents.google.com/patent/US12366437
USPTO PDF
https://image-ppubs.uspto.gov/dirsearch-public/print/downloadPdf/12366437