US12372316 - Takedown lever, takedown safety, and trigger shoe

handguntriggertakedownsafety
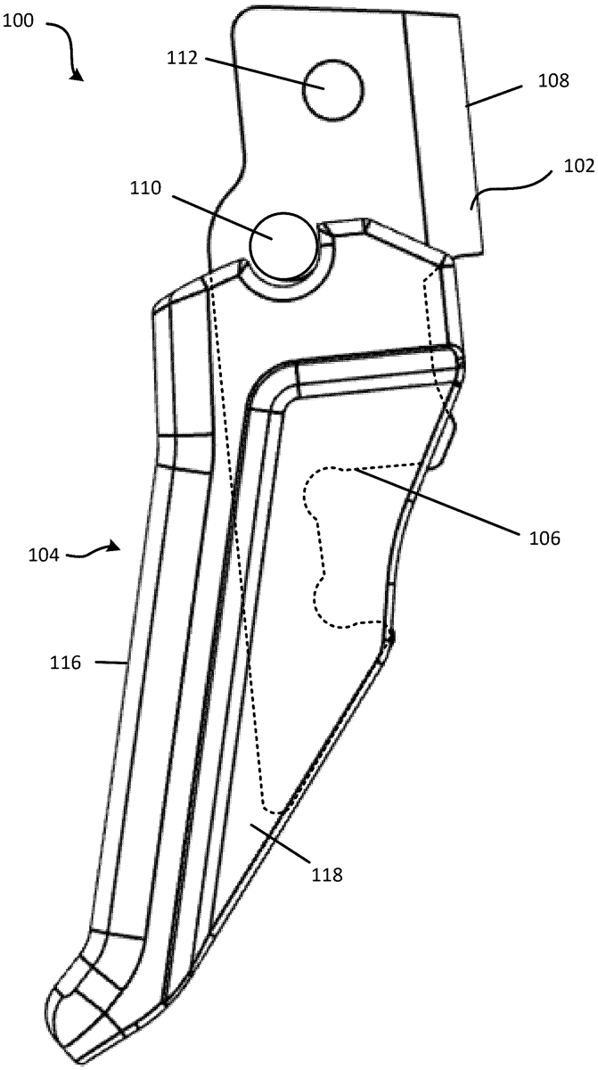
The patent describes a handgun trigger system featuring a pivotable trigger body and a removable trigger shoe that provides a user interface for firing. Additionally, it includes a takedown lever assembly that allows the slide of a semiautomatic handgun to be removed while blocking the trigger from being pulled in the takedown position.
Claim 1
- A trigger for a firearm, comprising: a trigger body having a front wall and sidewalls that are spaced apart and extend rearward from the front wall to a rear-end surface; and a trigger shoe removably attached to the trigger body, the trigger shoe having a front surface defining a user interface for firing the firearm, and having spaced-apart sidewalls each having a catch surface; wherein the trigger shoe is configured to be installed with a snap fit over the front wall of the trigger body such that the catch surface on the sidewalls of the trigger shoe engages the respective rear-end surface of each of the sidewalls of the trigger body. a trigger body having a front wall and sidewalls that are spaced apart and extend rearward from the front wall to a rear-end surface; and a trigger shoe removably attached to the trigger body, the trigger shoe having a front surface defining a user interface for firing the firearm, and having spaced-apart sidewalls each having a catch surface; wherein the trigger shoe is configured to be installed with a snap fit over the front wall of the trigger body such that the catch surface on the sidewalls of the trigger shoe engages the respective rear-end surface of each of the sidewalls of the trigger body.
Google Patents
https://patents.google.com/patent/US12372316
USPTO PDF
https://image-ppubs.uspto.gov/dirsearch-public/print/downloadPdf/12372316