US12372335 - Plasma burst application system and method

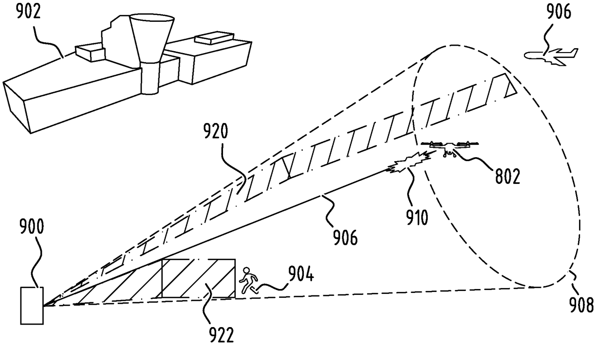
The patent describes a plasma burst application system utilizing a terawatt femtosecond pulsed laser, which emits laser pulses that can be precisely controlled to collapse at a target location based on distance measurements. It includes a tracking system to identify and differentiate between target and protected objects, ensuring that laser pulses are emitted safely and accurately.
Claim 1
- A plasma burst application system for applying a plasma burst to a target object at a target location, the system comprising: a terawatt femtosecond pulsed laser for emitting femtosecond laser pulses with associated filaments; a distance obtaining unit configured to obtain a target distance to the target location; one or more controllers configured to: receive the obtained target distance; set one or more laser control parameters of the terawatt femtosecond pulsed laser according to the obtained target distance such that, when a laser pulse is emitted by the terawatt femtosecond pulsed laser, the laser pulse filaments collapse at a selected laser pulse propagation distance based on the obtained target distance, and control the emission of at least one femtosecond laser pulse towards the target location such that the filaments of the at least one femtosecond laser pulse collapse at substantially the selected laser pulse propagation distance in order to apply the plasma burst at the target location; and a tracking system comprising the distance obtaining unit and a target determining unit configured to determine a target direction towards the target location from the terawatt femtosecond pulsed laser, wherein the tracking system is configured to: detect one or more respective locations of one or more objects in a field of regard, FOR, of the plasma burst application system; and determine whether a detected object is a target object or a protected object, the protected object being an object which is to be protected from laser pulses emitted by the plasma burst application system, wherein the one or more controllers are configured to receive the respective locations of the protected objects and to determine whether a laser pulse can be emitted or not based on the received respective locations of the protected objects, the determined target direction and the obtained target distance. a terawatt femtosecond pulsed laser for emitting femtosecond laser pulses with associated filaments; a distance obtaining unit configured to obtain a target distance to the target location; one or more controllers configured to: receive the obtained target distance; set one or more laser control parameters of the terawatt femtosecond pulsed laser according to the obtained target distance such that, when a laser pulse is emitted by the terawatt femtosecond pulsed laser, the laser pulse filaments collapse at a selected laser pulse propagation distance based on the obtained target distance, and control the emission of at least one femtosecond laser pulse towards the target location such that the filaments of the at least one femtosecond laser pulse collapse at substantially the selected laser pulse propagation distance in order to apply the plasma burst at the target location; and receive the obtained target distance; set one or more laser control parameters of the terawatt femtosecond pulsed laser according to the obtained target distance such that, when a laser pulse is emitted by the terawatt femtosecond pulsed laser, the laser pulse filaments collapse at a selected laser pulse propagation distance based on the obtained target distance, and control the emission of at least one femtosecond laser pulse towards the target location such that the filaments of the at least one femtosecond laser pulse collapse at substantially the selected laser pulse propagation distance in order to apply the plasma burst at the target location; and a tracking system comprising the distance obtaining unit and a target determining unit configured to determine a target direction towards the target location from the terawatt femtosecond pulsed laser, wherein the tracking system is configured to: detect one or more respective locations of one or more objects in a field of regard, FOR, of the plasma burst application system; and determine whether a detected object is a target object or a protected object, the protected object being an object which is to be protected from laser pulses emitted by the plasma burst application system, wherein the one or more controllers are configured to receive the respective locations of the protected objects and to determine whether a laser pulse can be emitted or not based on the received respective locations of the protected objects, the determined target direction and the obtained target distance. detect one or more respective locations of one or more objects in a field of regard, FOR, of the plasma burst application system; and determine whether a detected object is a target object or a protected object, the protected object being an object which is to be protected from laser pulses emitted by the plasma burst application system, wherein the one or more controllers are configured to receive the respective locations of the protected objects and to determine whether a laser pulse can be emitted or not based on the received respective locations of the protected objects, the determined target direction and the obtained target distance.
Google Patents
https://patents.google.com/patent/US12372335
USPTO PDF
https://image-ppubs.uspto.gov/dirsearch-public/print/downloadPdf/12372335