US12372340 - Vertical interlocking storage system

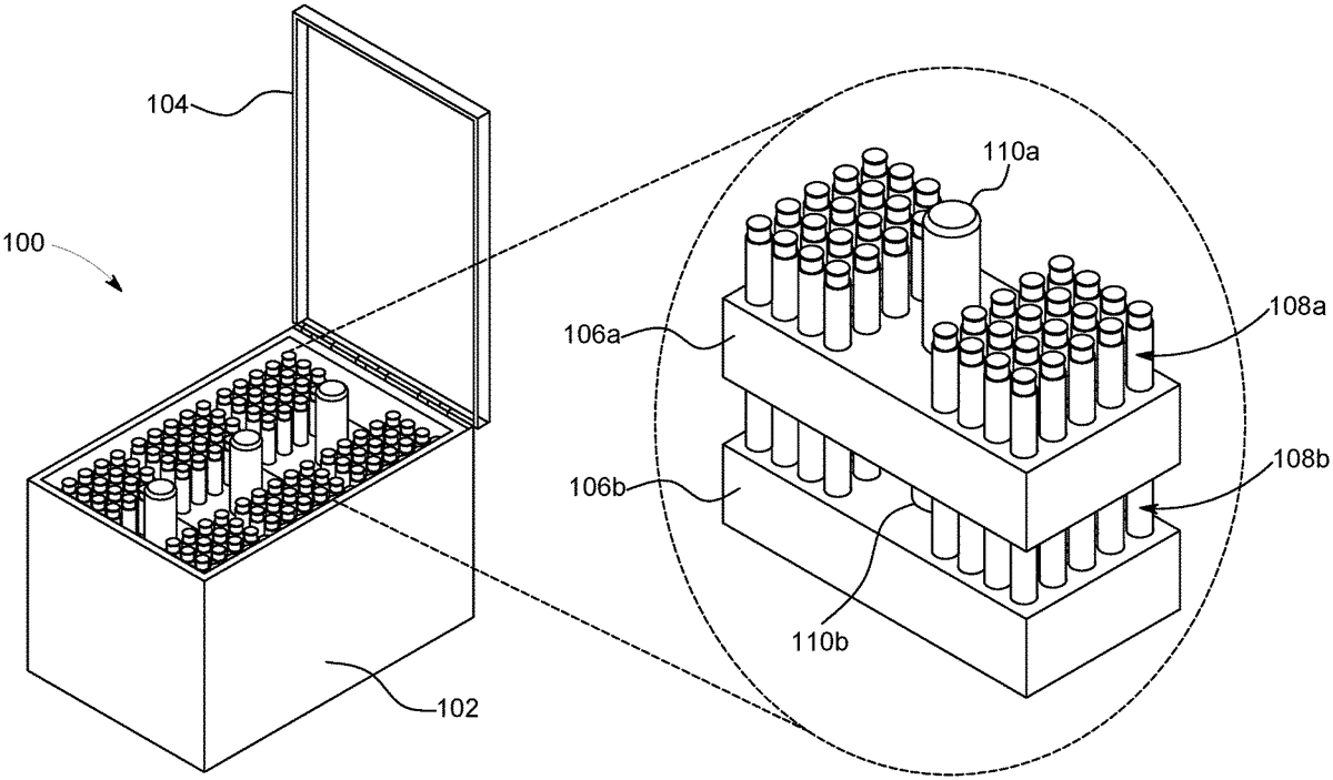
The patent describes a vertical interlocking storage system consisting of a bottom receptacle and a top receptacle designed to hold different sets of items, with a connector that allows the two to be securely stacked. The connector features a locking mechanism that ensures stability and ease of attachment between the receptacles.
Claim 1
- A system comprising: a bottom receptacle configured to hold a first set of items, wherein the bottom receptacle comprises a first stepped hole at a bottom receptacle center portion, wherein the first stepped hole comprises a first top portion, a first middle portion, and a first bottom portion, and wherein a first middle portion diameter is less than a first top portion diameter and a first bottom portion diameter; a top receptacle configured to hold a second set of items, wherein the top receptacle is configured to be stacked over the bottom receptacle, wherein the top receptacle comprises a second stepped hole at a top receptacle center portion, wherein the second stepped hole comprises a second top portion, a second middle portion, and a second bottom portion, and wherein a second middle portion diameter is less than a second top portion diameter and a second bottom portion diameter; and a first connector comprising: a first tubular body having a first connector distal portion and a first connector proximal portion; and a first locking mechanism disposed at the first connector distal portion, wherein the first locking mechanism is configured to lock the first connector distal portion to a bottom receptacle proximal portion, and wherein the first connector proximal portion is configured to removably attach to a top receptacle distal portion, wherein the first connector distal portion is configured to be inserted in the first top portion of the first stepped hole, and wherein the first connector proximal portion is configured to be inserted in the second bottom portion of the second stepped hole. a bottom receptacle configured to hold a first set of items, wherein the bottom receptacle comprises a first stepped hole at a bottom receptacle center portion, wherein the first stepped hole comprises a first top portion, a first middle portion, and a first bottom portion, and wherein a first middle portion diameter is less than a first top portion diameter and a first bottom portion diameter; a top receptacle configured to hold a second set of items, wherein the top receptacle is configured to be stacked over the bottom receptacle, wherein the top receptacle comprises a second stepped hole at a top receptacle center portion, wherein the second stepped hole comprises a second top portion, a second middle portion, and a second bottom portion, and wherein a second middle portion diameter is less than a second top portion diameter and a second bottom portion diameter; and a first connector comprising: a first tubular body having a first connector distal portion and a first connector proximal portion; and a first locking mechanism disposed at the first connector distal portion, wherein the first locking mechanism is configured to lock the first connector distal portion to a bottom receptacle proximal portion, and wherein the first connector proximal portion is configured to removably attach to a top receptacle distal portion, wherein the first connector distal portion is configured to be inserted in the first top portion of the first stepped hole, and wherein the first connector proximal portion is configured to be inserted in the second bottom portion of the second stepped hole. a first tubular body having a first connector distal portion and a first connector proximal portion; and a first locking mechanism disposed at the first connector distal portion, wherein the first locking mechanism is configured to lock the first connector distal portion to a bottom receptacle proximal portion, and wherein the first connector proximal portion is configured to removably attach to a top receptacle distal portion, wherein the first connector distal portion is configured to be inserted in the first top portion of the first stepped hole, and wherein the first connector proximal portion is configured to be inserted in the second bottom portion of the second stepped hole.
Google Patents
https://patents.google.com/patent/US12372340
USPTO PDF
https://image-ppubs.uspto.gov/dirsearch-public/print/downloadPdf/12372340