US12379168 - Recoil bracket for a handgun

handgunrecoilgripfirearm
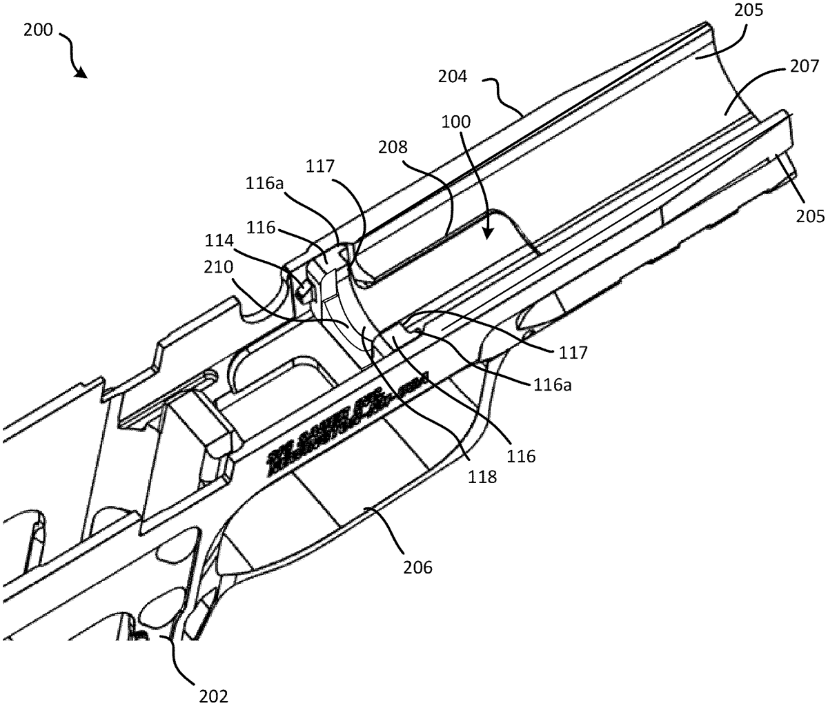
The patent describes a handgun grip module assembly that features a recoil bracket designed to move within a recess in the slide portion, allowing it to respond to forces during the firing cycle. This assembly includes a handgrip portion, a slide portion, and a trigger guard, with the slide portion constructed to accommodate the recoil bracket’s movement along a central axis.
Claim 1
- A handgun grip module assembly, comprising: a grip module having a handgrip portion, a slide portion, and a trigger guard extending between and connecting the handgrip portion to the slide portion, wherein the slide portion extends longitudinally along a central axis and has opposed sidewalls and a bottom wall, and wherein the slide portion defines a bracket recess in the bottom wall and defines a receiver well between the opposed sidewalls and above the handgrip portion; and a recoil bracket retained in the bracket recess of the grip module and movable along the central axis. a grip module having a handgrip portion, a slide portion, and a trigger guard extending between and connecting the handgrip portion to the slide portion, wherein the slide portion extends longitudinally along a central axis and has opposed sidewalls and a bottom wall, and wherein the slide portion defines a bracket recess in the bottom wall and defines a receiver well between the opposed sidewalls and above the handgrip portion; and a recoil bracket retained in the bracket recess of the grip module and movable along the central axis.
Google Patents
https://patents.google.com/patent/US12379168
USPTO PDF
https://image-ppubs.uspto.gov/dirsearch-public/print/downloadPdf/12379168