US12379170 - Manual bolt assembly for a firearm

firearmboltassembly
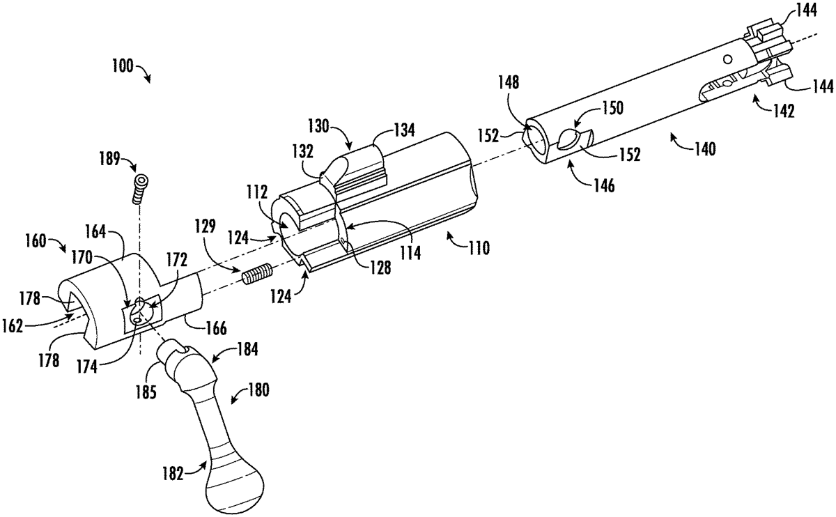
The patent describes a manual bolt assembly for firearms that includes a bolt carrier, bolt, cam lock, and bolt handle, featuring various passages and apertures for enhanced functionality. This assembly aims to improve the operation and reliability of the firearm’s loading and firing mechanisms.
Claim 1
- A manual bolt assembly for a firearm, the manual bolt assembly comprising: a bolt carrier comprising: a first central passage extending from a proximal end to a distal end of the bolt carrier; and a cutout defined along a side of the bolt carrier; a bolt extending through the first central passage, the bolt comprising: a second central passage extending from a proximal end of the bolt; and a first aperture extending through a wall of the bolt to the second central passage; a cam lock engaging the bolt carrier, the cam lock comprising: an arm movably disposed within the cutout; a third central passage extending from a proximal end of the cam lock; and a second aperture extending through a wall of the cam lock to the third central passage; and a bolt handle coupled to the cam lock, the bolt handle comprising: a lever extending away from the cam lock; and a protrusion extending through the second aperture and through the first aperture. a bolt carrier comprising: a first central passage extending from a proximal end to a distal end of the bolt carrier; and a cutout defined along a side of the bolt carrier; a first central passage extending from a proximal end to a distal end of the bolt carrier; and a cutout defined along a side of the bolt carrier; a bolt extending through the first central passage, the bolt comprising: a second central passage extending from a proximal end of the bolt; and a first aperture extending through a wall of the bolt to the second central passage; a second central passage extending from a proximal end of the bolt; and a first aperture extending through a wall of the bolt to the second central passage; a cam lock engaging the bolt carrier, the cam lock comprising: an arm movably disposed within the cutout; a third central passage extending from a proximal end of the cam lock; and a second aperture extending through a wall of the cam lock to the third central passage; and an arm movably disposed within the cutout; a third central passage extending from a proximal end of the cam lock; and a second aperture extending through a wall of the cam lock to the third central passage; and a bolt handle coupled to the cam lock, the bolt handle comprising: a lever extending away from the cam lock; and a protrusion extending through the second aperture and through the first aperture. a lever extending away from the cam lock; and a protrusion extending through the second aperture and through the first aperture.
Google Patents
https://patents.google.com/patent/US12379170
USPTO PDF
https://image-ppubs.uspto.gov/dirsearch-public/print/downloadPdf/12379170