US12379175 - High-capacity automatic magazine reloader

firearmammunitionmagazinereloader
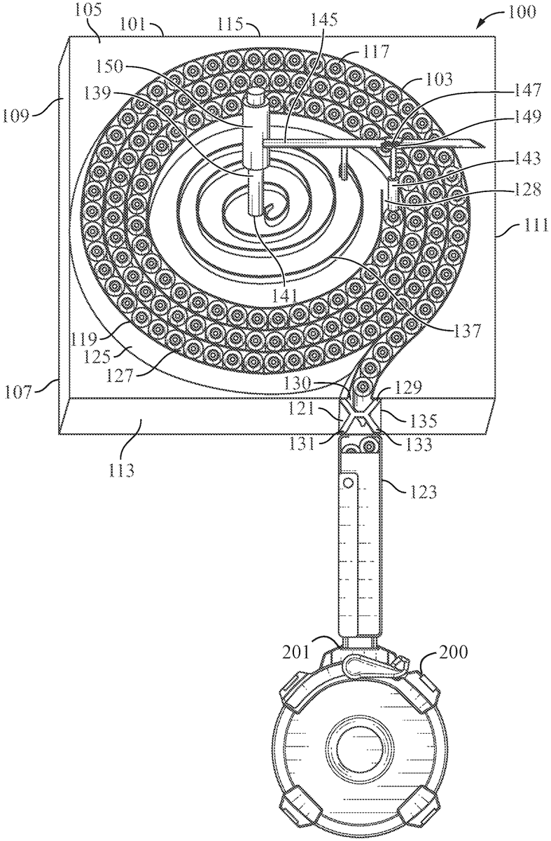
The patent describes a high-capacity magazine reloader that utilizes a spiral channel and a spring assembly to facilitate the ejection of rounds into a firearm magazine. A pivotally connected stopper allows for selective opening and closing of the egress point, ensuring controlled delivery of ammunition.
Claim 1
- A high-capacity magazine reloader, comprising: a housing defining an interior to retain a plurality of rounds; a spiral channel having a first end nearmost a central axis and a second end forming an opening to permit the egress of the plurality of rounds; a spring assembly to provide a rotational force to forcibly eject the plurality of rounds through the opening; a stopper positioned to cover the opening and prevent the plurality of rounds from egressing through the opening, wherein the stopper is pivotally connected to the opening to allow the stopper to selectively move between an open position and a closed position, and wherein the stopper is moved to the open position by connecting the magazine to the magazine receiver; and a magazine receiver positioned at the opening, the magazine receiver to releasably connect to a magazine of a firearm. a housing defining an interior to retain a plurality of rounds; a spiral channel having a first end nearmost a central axis and a second end forming an opening to permit the egress of the plurality of rounds; a spring assembly to provide a rotational force to forcibly eject the plurality of rounds through the opening; a stopper positioned to cover the opening and prevent the plurality of rounds from egressing through the opening, wherein the stopper is pivotally connected to the opening to allow the stopper to selectively move between an open position and a closed position, and wherein the stopper is moved to the open position by connecting the magazine to the magazine receiver; and a magazine receiver positioned at the opening, the magazine receiver to releasably connect to a magazine of a firearm.
Google Patents
https://patents.google.com/patent/US12379175
USPTO PDF
https://image-ppubs.uspto.gov/dirsearch-public/print/downloadPdf/12379175