US12379178 - Modular firearm trigger system

firearmtriggermodular
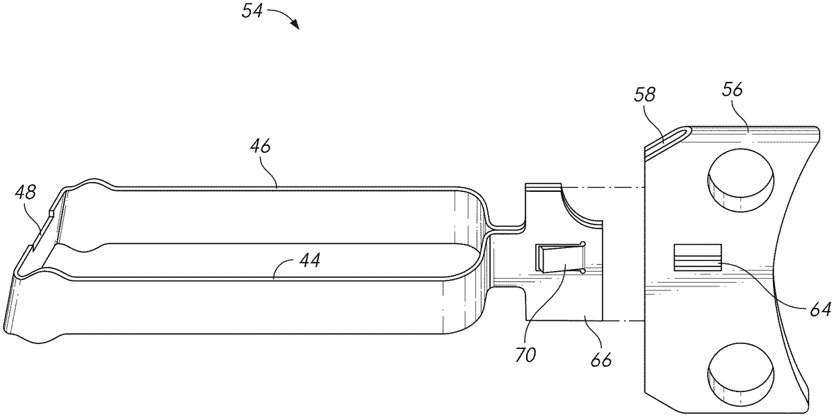
The patent describes a modular trigger system for pistols that allows users to easily detach and replace the trigger shoe while keeping the trigger bow installed in the firearm. This system features a selectable detachment mechanism that includes a resilient snap protrusion and an opening in the trigger shoe for secure attachment and removal.
Claim 1
- A pistol, comprising: (a) a frame, having a forward end and a rearward end; (b) said frame including a grip and a magazine well; (c) a detachable magazine housed within said grip; (d) said frame including a left channel running along a left side of said magazine well, said left channel being open in the rear and closed in the front; (e) said frame including a right channel running along a right side of said magazine well, said right channel being open in the rear and closed in the front; (f) a trigger guard enclosing a trigger area; (g) a firing mechanism; (h) a trigger bow, including, (i) a right side rail, (ii) a left side rail, (iii) a cross-bar connecting a rear portion of said right side rail to a rear portion of said left side rail, (iv) a neck connecting a front portion of said right side rail to a front portion of a left side rail, (v) a tang protruding forward from said neck; (i) said trigger bow slidably received within said frame with said right side rail resting in said right channel, said left side rail resting in said left channel, and said cross-bar lying proximate said firing mechanism; (j) said tang of said trigger bow extending into said trigger area; (k) a trigger shoe attached to said tang; (l) a selectable detachment feature selectively attaching said trigger shoe to said trigger bow, so that said trigger shoe can be removed from said trigger bow and from said pistol while said trigger bow remains installed in said frame; and wherein said selectable detachment feature comprises: an opening in said trigger shoe; and a resilient snap protrusion configured to deflect inwardly to allow the trigger shoe to be installed and the resilient snap protrusion protruding laterally from said tang and into said opening in said trigger shoe. (a) a frame, having a forward end and a rearward end; (b) said frame including a grip and a magazine well; (c) a detachable magazine housed within said grip; (d) said frame including a left channel running along a left side of said magazine well, said left channel being open in the rear and closed in the front; (e) said frame including a right channel running along a right side of said magazine well, said right channel being open in the rear and closed in the front; (f) a trigger guard enclosing a trigger area; (g) a firing mechanism; (h) a trigger bow, including, (i) a right side rail, (ii) a left side rail, (iii) a cross-bar connecting a rear portion of said right side rail to a rear portion of said left side rail, (iv) a neck connecting a front portion of said right side rail to a front portion of a left side rail, (v) a tang protruding forward from said neck; (i) a right side rail, (ii) a left side rail, (iii) a cross-bar connecting a rear portion of said right side rail to a rear portion of said left side rail, (iv) a neck connecting a front portion of said right side rail to a front portion of a left side rail, (v) a tang protruding forward from said neck; (i) said trigger bow slidably received within said frame with said right side rail resting in said right channel, said left side rail resting in said left channel, and said cross-bar lying proximate said firing mechanism; (j) said tang of said trigger bow extending into said trigger area; (k) a trigger shoe attached to said tang; (l) a selectable detachment feature selectively attaching said trigger shoe to said trigger bow, so that said trigger shoe can be removed from said trigger bow and from said pistol while said trigger bow remains installed in said frame; and wherein said selectable detachment feature comprises: an opening in said trigger shoe; and a resilient snap protrusion configured to deflect inwardly to allow the trigger shoe to be installed and the resilient snap protrusion protruding laterally from said tang and into said opening in said trigger shoe. an opening in said trigger shoe; and a resilient snap protrusion configured to deflect inwardly to allow the trigger shoe to be installed and the resilient snap protrusion protruding laterally from said tang and into said opening in said trigger shoe.
Google Patents
https://patents.google.com/patent/US12379178
USPTO PDF
https://image-ppubs.uspto.gov/dirsearch-public/print/downloadPdf/12379178