US12379186 - Adjustable sight assembly

firearmsightadjustable
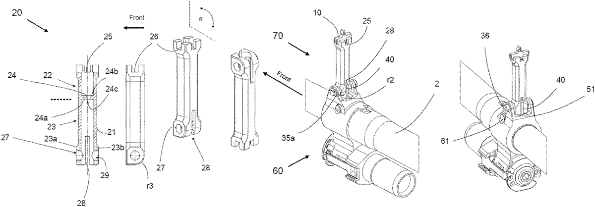
The patent describes an adjustable flip-up sight assembly for automatic firearms, featuring a front sight support element that allows for vertical and lateral adjustments. It includes a unique design with intersecting grooves for the front sight, an adjustment element connected to a spring, and a threaded hole for axle integration, ensuring precise positioning and stability during use.
Claim 1
- A front sight support element for an adjustable flip up sight assembly, comprising: a hollow body including: a first section to receive a front sight, wherein the first section includes a first groove and a second groove that intersect at a right angle on an axial end of the first section, wherein the front sight is rotatable and can be placed in the first groove or the second groove; a second section connected to the first section, the second section to receive an adjustment element to be releasably connected to the front sight and a spring element; a projection extending radially inward and located axially between the first and second sections, wherein the projection provides a limit for the front sight and a bearing surface for the spring element, wherein the projection allows axial movement of the adjustment element inside the first and second sections; and a threaded hole in the second section to receive an axle including a corresponding threading and to transfer a rotational movement of the axle to the front sight support element. a hollow body including: a first section to receive a front sight, wherein the first section includes a first groove and a second groove that intersect at a right angle on an axial end of the first section, wherein the front sight is rotatable and can be placed in the first groove or the second groove; a second section connected to the first section, the second section to receive an adjustment element to be releasably connected to the front sight and a spring element; a projection extending radially inward and located axially between the first and second sections, wherein the projection provides a limit for the front sight and a bearing surface for the spring element, wherein the projection allows axial movement of the adjustment element inside the first and second sections; and a threaded hole in the second section to receive an axle including a corresponding threading and to transfer a rotational movement of the axle to the front sight support element.
Google Patents
https://patents.google.com/patent/US12379186
USPTO PDF
https://image-ppubs.uspto.gov/dirsearch-public/print/downloadPdf/12379186