US12384005 - Ball joint system and support device

The patent describes a firearm maintenance aid featuring a ball joint system that connects vise jaws to a base, allowing for adjustable positioning and secure locking of the ball joint. This system enhances the functionality of a firearm vise by enabling precise alignment and stability during maintenance tasks.
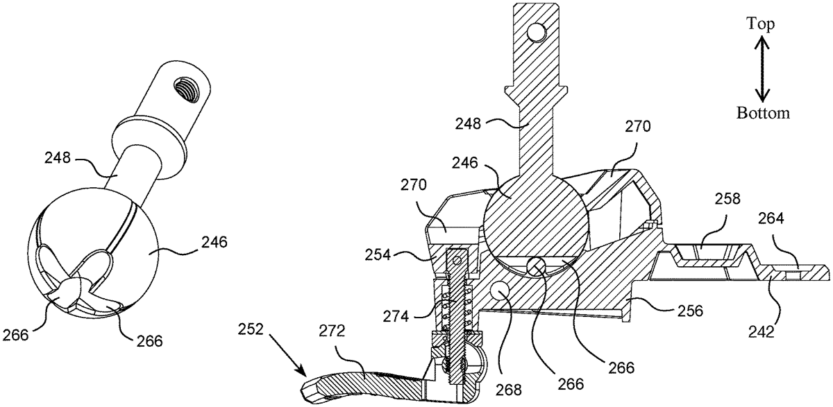
Claim 1
- A ball joint system comprising: a plurality of vise jaws; and a vise base having a housing and connected to the vise jaws via a ball joint, wherein the ball joint includes a ball located at least partially within the housing, a stem connected on a first end to the ball and on a second end to a portion of the vise jaws, and an elongate ball lock for securing the ball at a predetermined angle within the housing to prevent rotation of the ball, wherein the ball includes one or more passages through which the ball lock is inserted to lock the ball in a predetermined position, the one or more passages being located at least partially along a bottom surface of the ball, wherein the one or more passages extend completely through the ball, and wherein the housing includes a plurality of ball lock holes in at least two sides of the housing, enabling the ball lock to enter into one of the plurality of ball lock holes on one side of the housing and exit out the opposite side. a plurality of vise jaws; and a vise base having a housing and connected to the vise jaws via a ball joint, wherein the ball joint includes a ball located at least partially within the housing, a stem connected on a first end to the ball and on a second end to a portion of the vise jaws, and an elongate ball lock for securing the ball at a predetermined angle within the housing to prevent rotation of the ball, wherein the ball includes one or more passages through which the ball lock is inserted to lock the ball in a predetermined position, the one or more passages being located at least partially along a bottom surface of the ball, wherein the one or more passages extend completely through the ball, and wherein the housing includes a plurality of ball lock holes in at least two sides of the housing, enabling the ball lock to enter into one of the plurality of ball lock holes on one side of the housing and exit out the opposite side.
Google Patents
https://patents.google.com/patent/US12384005
USPTO PDF
https://image-ppubs.uspto.gov/dirsearch-public/print/downloadPdf/12384005