US12385704 - Firearm recoil devices, systems, and methods

firearmrecoilmechanism
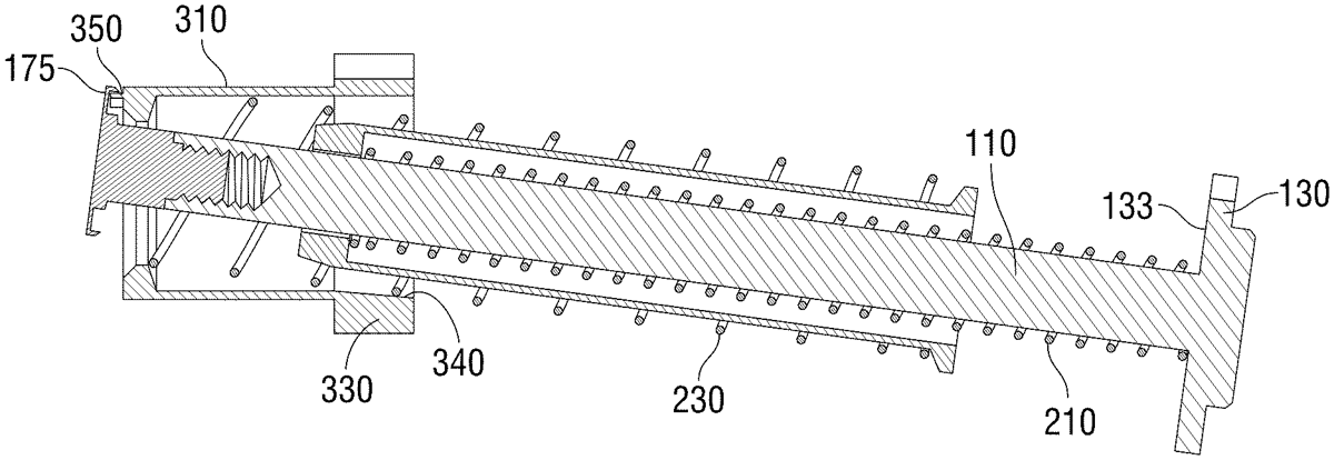
The patent describes a recoil system for firearms that includes a slide plug and a guide rod, both featuring complementary catch means that interfit to maintain the system in a partially compressed state. This design aims to enhance the functionality and stability of the recoil system during operation.
Claim 1
- A recoil system for a firearm comprising: a slide plug comprising a first catch means and configured to interfit in a complementary boring in a slide spring tunnel of the firearm; and a guide rod having a forward end, the guide rod comprising a plug retainer disposed at the forward end, and the plug retainer comprising a second catch means; with the first catch means and the second catch means configured compatibly to interfit; and with the recoil system having a partially compressed configuration in which the guide rod is tilted with respect to the slide plug, and the first catch means and the second catch means interfit. a slide plug comprising a first catch means and configured to interfit in a complementary boring in a slide spring tunnel of the firearm; and a guide rod having a forward end, the guide rod comprising a plug retainer disposed at the forward end, and the plug retainer comprising a second catch means; with the first catch means and the second catch means configured compatibly to interfit; and with the recoil system having a partially compressed configuration in which the guide rod is tilted with respect to the slide plug, and the first catch means and the second catch means interfit. the guide rod is tilted with respect to the slide plug, and the first catch means and the second catch means interfit.
Google Patents
https://patents.google.com/patent/US12385704
USPTO PDF
https://image-ppubs.uspto.gov/dirsearch-public/print/downloadPdf/12385704