US12385718 - Locking pin for use in an adjustable buttstock

buttstocklocking pinfirearm
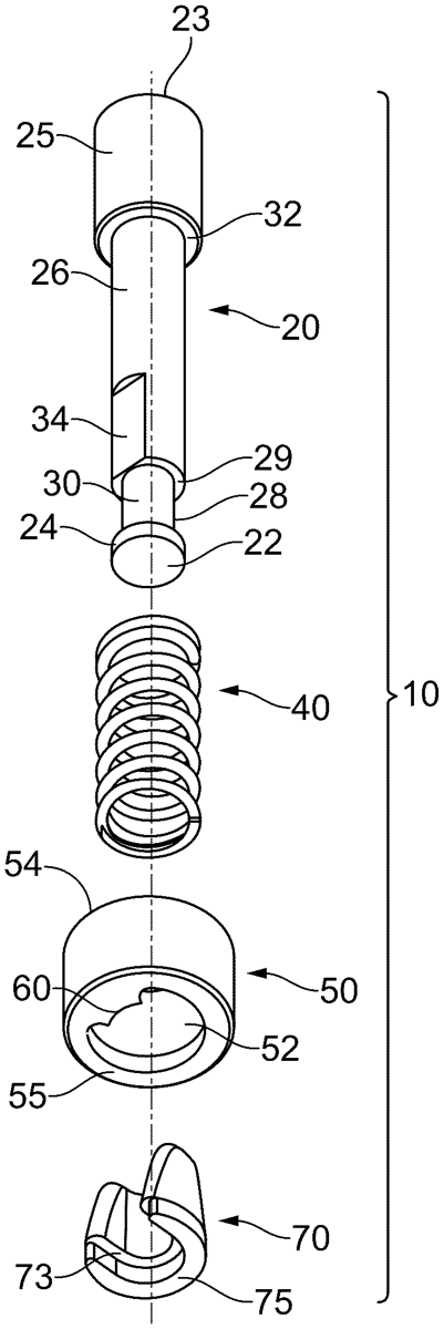
The patent describes a locking pin assembly designed for adjustable buttstocks on firearms, facilitating the extension and collapse of the buttstock in relation to the firearm’s receiver. The assembly features a unique design with a discoid head, a cap, and a coaxial stem that includes a major and minor shaft, enhancing its functionality and ease of fabrication.
Claim 1
- A locking pin assembly adapted for use with an adjustable buttstock assembly, the locking pin assembly comprising: a locking pin comprising: a first end having a discoid head; a second end having a cap; a stem extending between the head and cap, the stem comprising a major shaft adjoining the cap and a minor shaft adjoining the head, the major shaft being coaxially integral with the minor shaft, a diameter of the major shaft exceeding a diameter of the minor shaft, wherein the diametrical transition between the major and minor shafts defines a step; a circumferential clip channel defined between the head and the step; and a planar keyway on the major shaft extending from the step toward the cap. a locking pin comprising: a first end having a discoid head; a second end having a cap; a stem extending between the head and cap, the stem comprising a major shaft adjoining the cap and a minor shaft adjoining the head, the major shaft being coaxially integral with the minor shaft, a diameter of the major shaft exceeding a diameter of the minor shaft, wherein the diametrical transition between the major and minor shafts defines a step; a circumferential clip channel defined between the head and the step; and a planar keyway on the major shaft extending from the step toward the cap. a first end having a discoid head; a second end having a cap; a stem extending between the head and cap, the stem comprising a major shaft adjoining the cap and a minor shaft adjoining the head, the major shaft being coaxially integral with the minor shaft, a diameter of the major shaft exceeding a diameter of the minor shaft, wherein the diametrical transition between the major and minor shafts defines a step; a circumferential clip channel defined between the head and the step; and a planar keyway on the major shaft extending from the step toward the cap.
Google Patents
https://patents.google.com/patent/US12385718
USPTO PDF
https://image-ppubs.uspto.gov/dirsearch-public/print/downloadPdf/12385718