US12392578 - Vertical launch system (VLS) including heavy inert gas insulating layers

The patent describes a vertical launch system (VLS) that incorporates heavy inert gas insulation layers to enhance thermal protection for missile components, thereby preventing premature reactions of energetic materials. This design allows for a more compact configuration while effectively managing exhaust gases during missile launches.
Claim 1
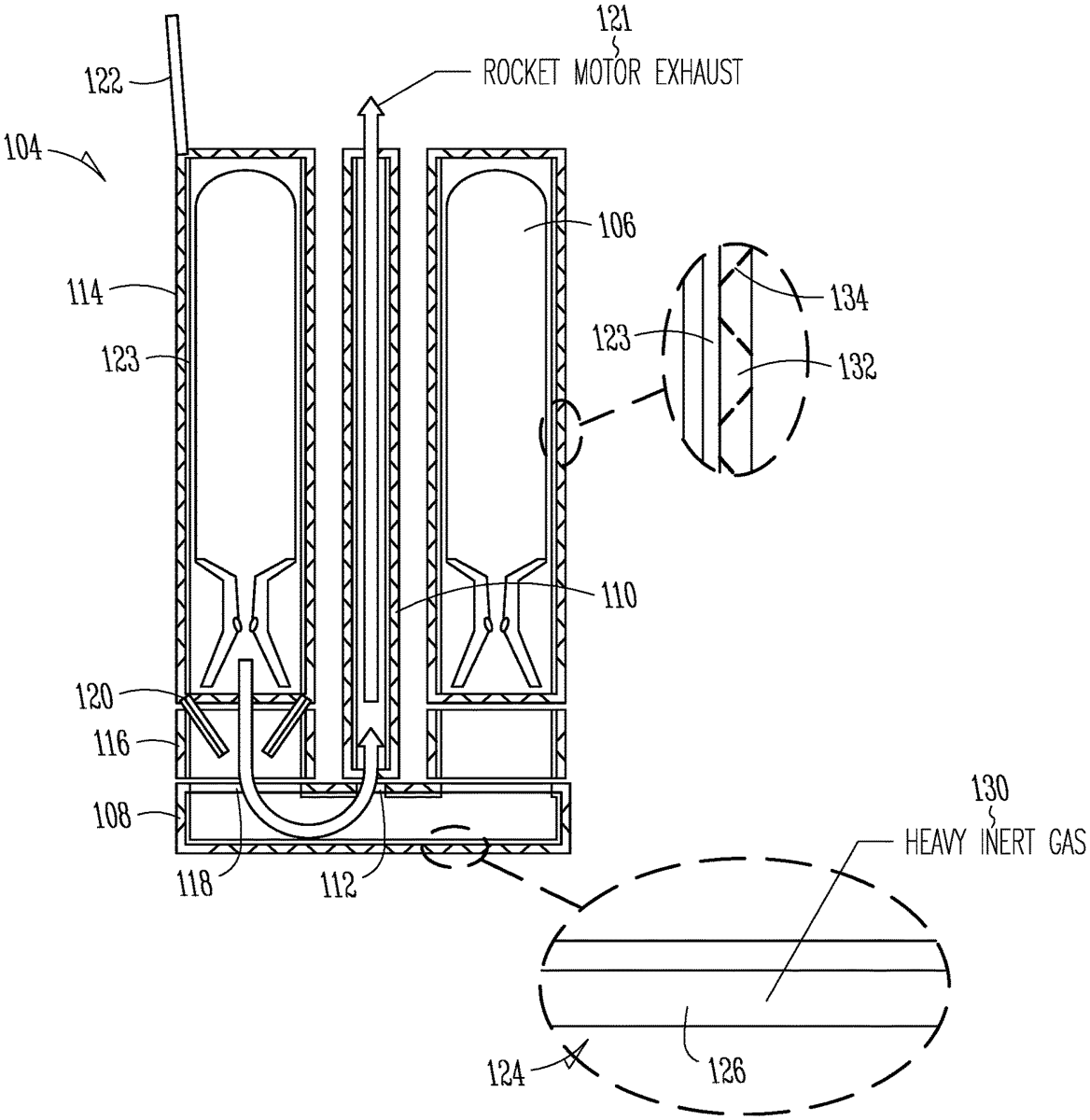
- A vertical launch system (VLS) module, comprising: a plurality of missile cells, each cell configured for containing a missile and launching a missile out a top thereof, a common exhaust plenum; at least one exhaust tube connected via at least one first passageway to the common exhaust plenum; each said missile cell having an upper region for releasing a missile during launch and a lower region connected via a second passageway and an aft cover with the common exhaust plenum to transfer exhaust gases from the missile into the common exhaust plenum and through the exhaust tube and out of the module, said aft cover configured to open during missile launch and otherwise close to block the reverse flow of exhaust gases from the common exhaust plenum back into the cells; wherein at least the lower region of each cell, the aft cover, the common exhaust plenum and the at least one exhaust tube have inner surfaces covered with an insulating layer of a burn resistant material; said common exhaust plenum having a double-walled structure that defines a sealed void space; and an inert gas inside the sealed void space, the inert gas having a density of at least 1.5 Kg/m 3 and a thermal conductivity (Tcond_gas) of no greater than two-thirds of a thermal conductivity of air (Tcond_air) to form a heavy inert gas insulation layer. a plurality of missile cells, each cell configured for containing a missile and launching a missile out a top thereof, a common exhaust plenum; at least one exhaust tube connected via at least one first passageway to the common exhaust plenum; each said missile cell having an upper region for releasing a missile during launch and a lower region connected via a second passageway and an aft cover with the common exhaust plenum to transfer exhaust gases from the missile into the common exhaust plenum and through the exhaust tube and out of the module, said aft cover configured to open during missile launch and otherwise close to block the reverse flow of exhaust gases from the common exhaust plenum back into the cells; wherein at least the lower region of each cell, the aft cover, the common exhaust plenum and the at least one exhaust tube have inner surfaces covered with an insulating layer of a burn resistant material; said common exhaust plenum having a double-walled structure that defines a sealed void space; and an inert gas inside the sealed void space, the inert gas having a density of at least 1.5 Kg/m 3 and a thermal conductivity (Tcond_gas) of no greater than two-thirds of a thermal conductivity of air (Tcond_air) to form a heavy inert gas insulation layer.
Google Patents
https://patents.google.com/patent/US12392578
USPTO PDF
https://image-ppubs.uspto.gov/dirsearch-public/print/downloadPdf/12392578