US12392582 - Satellite gun

The patent describes a wireless remote-controlled gun designed for installation on aircraft, such as airplanes or drones, allowing for targeting and shooting projectiles at external targets. It features a camera for real-time imaging and a laser pointer for accurate aiming, with control facilitated through an internet-connected electronic circuit linked to an external remote computer.
Claim 1
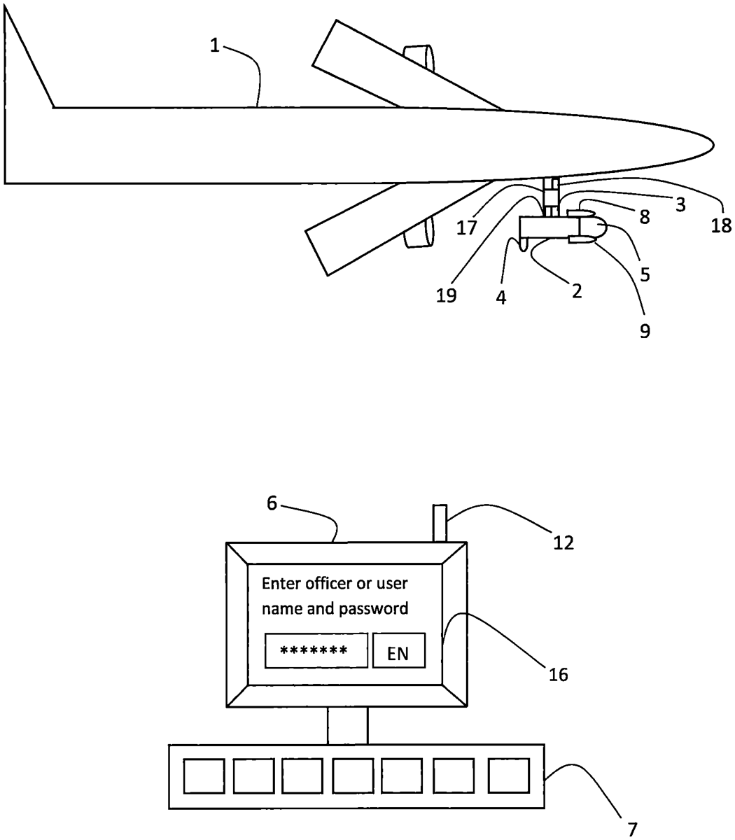
- A weapon system, comprising: a remote control gun secured to the external part of an aircraft via a joint associated with a gun body; the joint comprising a movable joint secured to the gun body; the gun body comprising a barrel; a camera secured to one side of the barrel of the gun body; a laser pointer secured to the second side of the barrel of the gun body; an external remote computer associated with the gun via an internet network; a built-in internet connectable electronic circuit operably associated with an electric motor associated with the movable joint and with the gun body, the built-in internet connectable electronic circuit is configured to receive commands from the remote computer through a monitoring internet site, the built in internet connectable electronic circuit is configured to control the operation or movement of the gun body by the movement of the joint via the electric motor to point or to shoot a projectile at the direction of an external target; wherein the laser pointer on the barrel of the gun body is configured for accurate aiming of shots; wherein the camera on the barrel of the gun body is configured to capture and send real-time images of a target to the external remote computer through the monitoring internet site. a remote control gun secured to the external part of an aircraft via a joint associated with a gun body; the joint comprising a movable joint secured to the gun body; the gun body comprising a barrel; a camera secured to one side of the barrel of the gun body; a laser pointer secured to the second side of the barrel of the gun body; an external remote computer associated with the gun via an internet network; a built-in internet connectable electronic circuit operably associated with an electric motor associated with the movable joint and with the gun body, the built-in internet connectable electronic circuit is configured to receive commands from the remote computer through a monitoring internet site, the built in internet connectable electronic circuit is configured to control the operation or movement of the gun body by the movement of the joint via the electric motor to point or to shoot a projectile at the direction of an external target; wherein the laser pointer on the barrel of the gun body is configured for accurate aiming of shots; wherein the camera on the barrel of the gun body is configured to capture and send real-time images of a target to the external remote computer through the monitoring internet site.
Google Patents
https://patents.google.com/patent/US12392582
USPTO PDF
https://image-ppubs.uspto.gov/dirsearch-public/print/downloadPdf/12392582