US12392585 - Dart game device

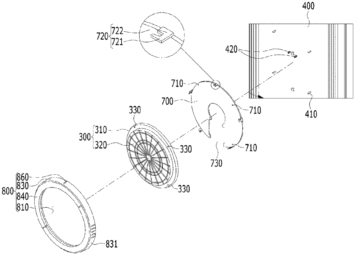
The patent describes a dart game apparatus featuring a body part, a target fixation plate, a dart target unit, and a target cover unit, designed for enhanced stability and functionality. The dart target unit includes a seating unit and a dart plate, with guide pins and corresponding holes to ensure proper alignment and secure attachment to the body part.
Claim 1
- A dart game apparatus comprising: a body part forming an external appearance of a dart game apparatus; a target fixation plate provided in one area of a front surface of the body part; a dart target unit seated on the front surface of the target fixation plate; and a target cover unit formed to cover at least a part of the dart target unit, and fixed and coupled to the target fixation plate; wherein the dart target unit includes: a seating unit seated on the front surface of the target fixation plate and having a first diameter, and a dart plate formed to be projected toward the front surface of the seating unit and having a second diameter smaller than the first diameter, further comprising: at least one guide pin formed to be projected toward the front surface of the body part and guiding locations at which the target fixation plate and the dart target unit are seated on the front surface of the body part, wherein the target fixation plate includes at least one first guide hole provided at a location corresponding to the at least one guide pin, and the seating unit includes at least one second guide hole provided at the location corresponding to the at least one guide pin. a body part forming an external appearance of a dart game apparatus; a target fixation plate provided in one area of a front surface of the body part; a dart target unit seated on the front surface of the target fixation plate; and a target cover unit formed to cover at least a part of the dart target unit, and fixed and coupled to the target fixation plate; wherein the dart target unit includes: a seating unit seated on the front surface of the target fixation plate and having a first diameter, and a dart plate formed to be projected toward the front surface of the seating unit and having a second diameter smaller than the first diameter, further comprising: at least one guide pin formed to be projected toward the front surface of the body part and guiding locations at which the target fixation plate and the dart target unit are seated on the front surface of the body part, wherein the target fixation plate includes at least one first guide hole provided at a location corresponding to the at least one guide pin, and the seating unit includes at least one second guide hole provided at the location corresponding to the at least one guide pin. a seating unit seated on the front surface of the target fixation plate and having a first diameter, and a dart plate formed to be projected toward the front surface of the seating unit and having a second diameter smaller than the first diameter, further comprising: at least one guide pin formed to be projected toward the front surface of the body part and guiding locations at which the target fixation plate and the dart target unit are seated on the front surface of the body part, wherein the target fixation plate includes at least one first guide hole provided at a location corresponding to the at least one guide pin, and the seating unit includes at least one second guide hole provided at the location corresponding to the at least one guide pin.
Google Patents
https://patents.google.com/patent/US12392585
USPTO PDF
https://image-ppubs.uspto.gov/dirsearch-public/print/downloadPdf/12392585