US12392593 - Method for installing a set of electronic detonators and associated ignition method

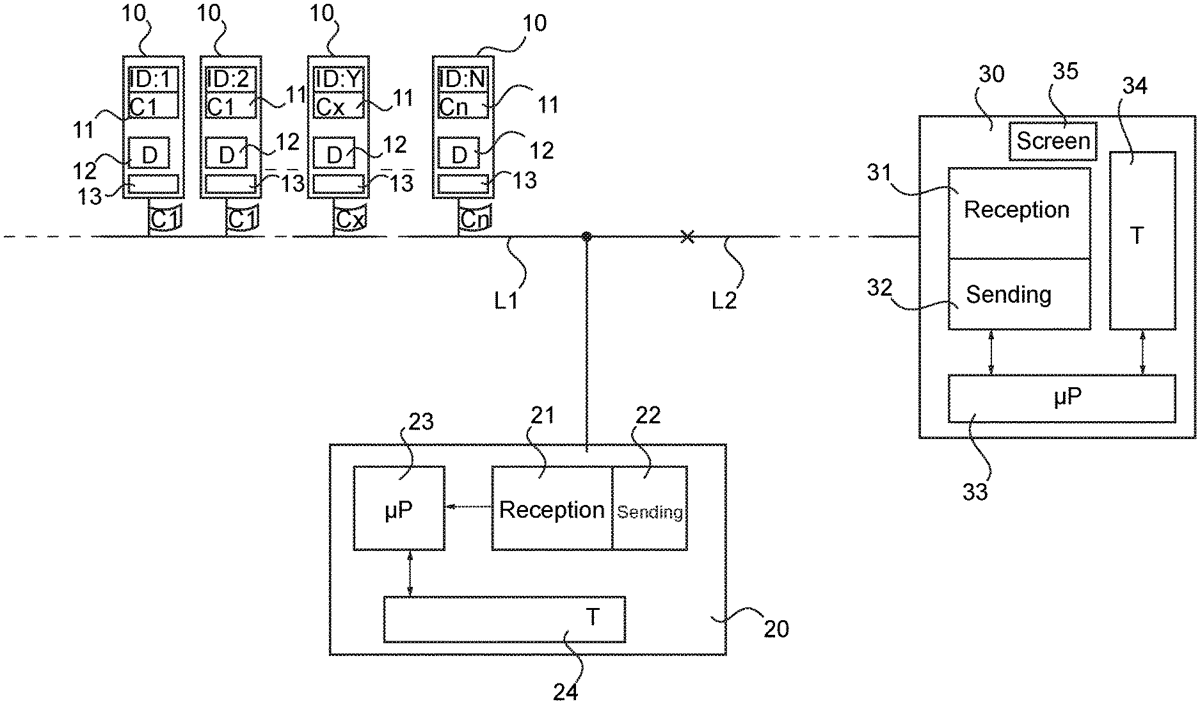
The patent describes a method for installing electronic detonators in mining blast holes, which involves connecting the detonators to a movable test device that verifies their connection and stores relevant data. This process ensures accurate verification of the detonators before they are fired, enhancing safety and reliability in mining operations.
Claim 1
- A method for installing a set of electronic detonators in blast holes of a mining face, the method comprising: connecting said electronic detonators charged into the blast holes to a movable test device; receiving, by said movable test device, a message sent by each detonator of said set of electronic detonators; determining, by said movable test device from said message sent by each detonator, a set of values representing the total number of electronic detonators connected to the movable test device; sending, by said movable test device to one or more detonators of said set of electronic detonators, a data set to store in memory comprising said set of values representing the total number of electronic detonators connected to the movable test device; and storing said data set in memory saving means of one or more detonators of said set of electronic detonators. connecting said electronic detonators charged into the blast holes to a movable test device; receiving, by said movable test device, a message sent by each detonator of said set of electronic detonators; determining, by said movable test device from said message sent by each detonator, a set of values representing the total number of electronic detonators connected to the movable test device; sending, by said movable test device to one or more detonators of said set of electronic detonators, a data set to store in memory comprising said set of values representing the total number of electronic detonators connected to the movable test device; and storing said data set in memory saving means of one or more detonators of said set of electronic detonators.
Google Patents
https://patents.google.com/patent/US12392593
USPTO PDF
https://image-ppubs.uspto.gov/dirsearch-public/print/downloadPdf/12392593