US12395557 - Systems and methods for filtering messages

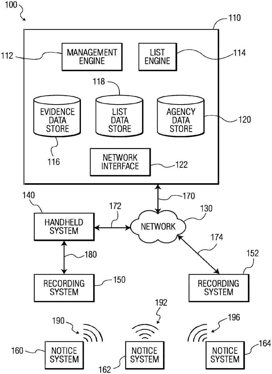
The patent describes a notice system that utilizes sensors to detect physical properties of objects, enabling the transmission of messages based on their active or inactive states. This system includes a processing circuit and a short-range wireless interface to manage session identifiers and facilitate communication with recording systems.
Claim 1
- A notice system for transmitting messages to one or more provided recording systems, the notice system comprising: one or more sensors for detecting a respective physical property of an object or a portion of the object, wherein each sensor provides data responsive to detecting the respective physical property, and wherein the physical property relates to a respective active state and a respective inactive state; a processing circuit that receives the data from each sensor of the one or more sensors; a computer-readable storage medium that stores a first session identifier; and a short-range wireless interface, wherein the processing circuit is configured to perform operations comprising: setting, by the processing circuit, a value of the first session identifier; detecting, by the processing circuit, the data from at least one sensor of the one or more sensors that reports the respective active state; and responsive to detecting the data from the at least one sensor that reports the respective active state, transmitting, by the processing circuit via the short-range wireless interface, a first message that includes the value of the first session identifier, wherein the one or more sensors, the processing circuit, the computer-readable storage medium, and the short-range wireless interface are included in a same device that transmits the first message. one or more sensors for detecting a respective physical property of an object or a portion of the object, wherein each sensor provides data responsive to detecting the respective physical property, and wherein the physical property relates to a respective active state and a respective inactive state; a processing circuit that receives the data from each sensor of the one or more sensors; a computer-readable storage medium that stores a first session identifier; and a short-range wireless interface, wherein the processing circuit is configured to perform operations comprising: setting, by the processing circuit, a value of the first session identifier; detecting, by the processing circuit, the data from at least one sensor of the one or more sensors that reports the respective active state; and responsive to detecting the data from the at least one sensor that reports the respective active state, transmitting, by the processing circuit via the short-range wireless interface, a first message that includes the value of the first session identifier, wherein the one or more sensors, the processing circuit, the computer-readable storage medium, and the short-range wireless interface are included in a same device that transmits the first message. setting, by the processing circuit, a value of the first session identifier; detecting, by the processing circuit, the data from at least one sensor of the one or more sensors that reports the respective active state; and responsive to detecting the data from the at least one sensor that reports the respective active state, transmitting, by the processing circuit via the short-range wireless interface, a first message that includes the value of the first session identifier, wherein the one or more sensors, the processing circuit, the computer-readable storage medium, and the short-range wireless interface are included in a same device that transmits the first message.
Google Patents
https://patents.google.com/patent/US12395557
USPTO PDF
https://image-ppubs.uspto.gov/dirsearch-public/print/downloadPdf/12395557