US12398969 - Handgun compensator

handguncompensatorrecoil
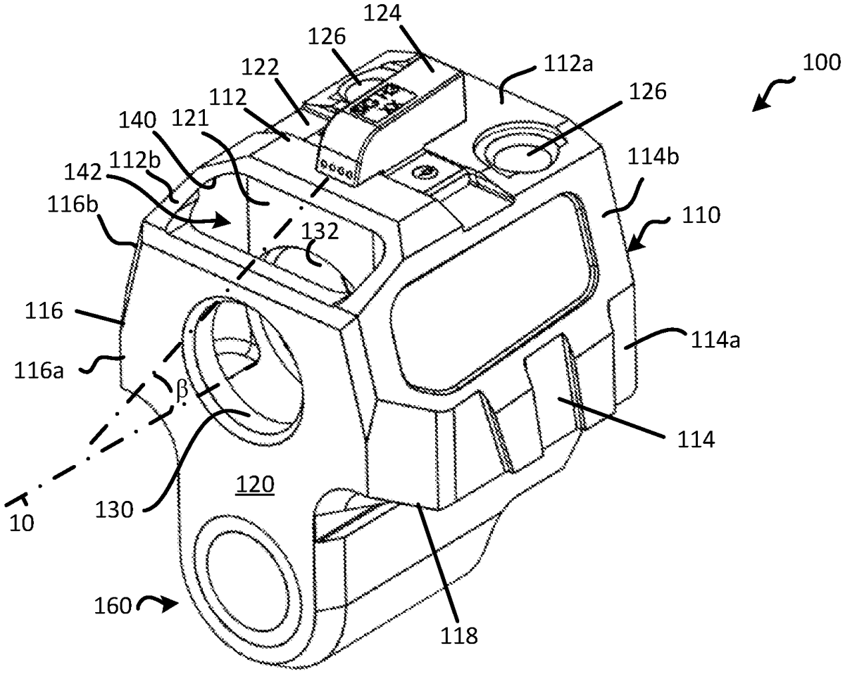
The patent describes a recoil compensator designed for semiautomatic handguns, featuring a threaded opening for attachment to the barrel and a port for venting propellant gases during firing. The compensator includes various structural elements such as walls and openings to enhance its functionality and stability when installed.
Claim 1
- A recoil compensator for a semiautomatic handgun, comprising: a compensator body extending along a bore axis and defining a through-opening along the bore axis, the compensator body including a top wall; a bottom wall; side walls extending downward from the top wall to the bottom wall; a distal wall connected to the top wall, the bottom wall, and the side walls, the distal wall defining a projectile opening centered on the bore axis; and an intermediate wall spaced axially from the distal wall, the intermediate wall defining a barrel opening; wherein the compensator body defines an open region axially between the distal wall and the intermediate wall, and between the top wall, bottom wall, and side walls; wherein the top wall defines one or more fastener openings and defines a port between the distal wall and the intermediate wall, the port configured to vent a portion of propellant gases from a handgun barrel when the recoil compensator is installed on the handgun barrel; and wherein the bottom wall is closed from the intermediate wall to the distal wall. a compensator body extending along a bore axis and defining a through-opening along the bore axis, the compensator body including a top wall; a bottom wall; side walls extending downward from the top wall to the bottom wall; a distal wall connected to the top wall, the bottom wall, and the side walls, the distal wall defining a projectile opening centered on the bore axis; and an intermediate wall spaced axially from the distal wall, the intermediate wall defining a barrel opening; wherein the compensator body defines an open region axially between the distal wall and the intermediate wall, and between the top wall, bottom wall, and side walls; wherein the top wall defines one or more fastener openings and defines a port between the distal wall and the intermediate wall, the port configured to vent a portion of propellant gases from a handgun barrel when the recoil compensator is installed on the handgun barrel; and wherein the bottom wall is closed from the intermediate wall to the distal wall.
Google Patents
https://patents.google.com/patent/US12398969
USPTO PDF
https://image-ppubs.uspto.gov/dirsearch-public/print/downloadPdf/12398969