US12398979 - Active shooter protection system utilizing a ballistic blanket and an integrated locking system

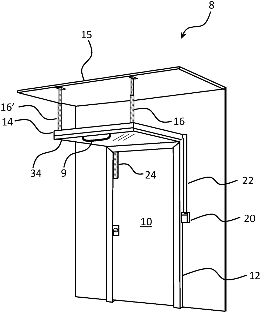
The Active Shooter Protection System (ASPS) features a gravity-operated mechanism that deploys a ballistic blanket to shield a door from gunfire, enhancing safety in environments like schools. It includes a locking system in addition to a deadbolt, and the ballistic blanket can be reinforced with ceramic inserts for increased protection against high-powered firearms.
Claim 1
- An active shooter protection system, comprising: an upper plate attached to a ceiling near a door to be protected; a lower plate rotatably coupled to the upper plate with a hinge; a deployable ballistic blanket comprised of ballistic material folded in half in an initial configuration, with an upper half being attached to the lower plate; and release means for releasing the lower plate from the upper plate, thereby allowing the lower plate to freely rotate downwards under the influence of gravity, wherein the ballistic blanket deploys under gravity and covers the door and thereby stops any bullets from a gun that are fired through the door when the blanket is fully deployed. an upper plate attached to a ceiling near a door to be protected; a lower plate rotatably coupled to the upper plate with a hinge; a deployable ballistic blanket comprised of ballistic material folded in half in an initial configuration, with an upper half being attached to the lower plate; and release means for releasing the lower plate from the upper plate, thereby allowing the lower plate to freely rotate downwards under the influence of gravity, wherein the ballistic blanket deploys under gravity and covers the door and thereby stops any bullets from a gun that are fired through the door when the blanket is fully deployed.
Google Patents
https://patents.google.com/patent/US12398979
USPTO PDF
https://image-ppubs.uspto.gov/dirsearch-public/print/downloadPdf/12398979