US12398990 - Method for rotating a toggle link upon an acceleration event greater than a predetermined threshold

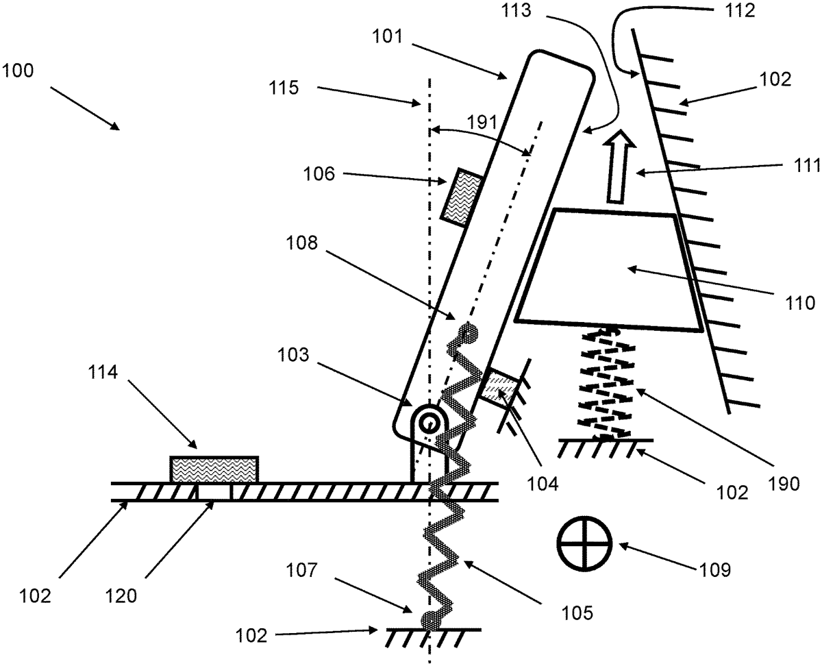
The patent describes a mechanism featuring a toggle link that rotates in response to acceleration events exceeding a specified threshold, utilizing a biasing element and an inertial element to facilitate movement. This design aims to enhance the functionality of the toggle link by ensuring it can switch positions based on dynamic forces acting on the base structure.
Claim 1
- A mechanism comprising: a toggle link rotatably connected to a base structure; a stop fixed to the base structure for limiting a rotational travel of the toggle link, the stop being fixed to the base structure such that there is no relative movement between the stop and the base structure; a biasing element having a first end attached to the base structure and a second end attached to the toggle link such that the toggle link is biased towards the stop when the toggle link is positioned on a first side of a singular position and the toggle link is biased towards an opposite direction from the stop when the toggle link is positioned on a second side of the singular position; and an inertial element movably disposed relative to the base structure and the toggle link such that the inertial element moves the toggle link from the first side of the singular position to the second side of the singular position when the base structure undergoes an acceleration event greater than a predetermined threshold. a toggle link rotatably connected to a base structure; a stop fixed to the base structure for limiting a rotational travel of the toggle link, the stop being fixed to the base structure such that there is no relative movement between the stop and the base structure; a biasing element having a first end attached to the base structure and a second end attached to the toggle link such that the toggle link is biased towards the stop when the toggle link is positioned on a first side of a singular position and the toggle link is biased towards an opposite direction from the stop when the toggle link is positioned on a second side of the singular position; and an inertial element movably disposed relative to the base structure and the toggle link such that the inertial element moves the toggle link from the first side of the singular position to the second side of the singular position when the base structure undergoes an acceleration event greater than a predetermined threshold.
Google Patents
https://patents.google.com/patent/US12398990
USPTO PDF
https://image-ppubs.uspto.gov/dirsearch-public/print/downloadPdf/12398990