US12405081 - Covers for non-lethal gun magazines

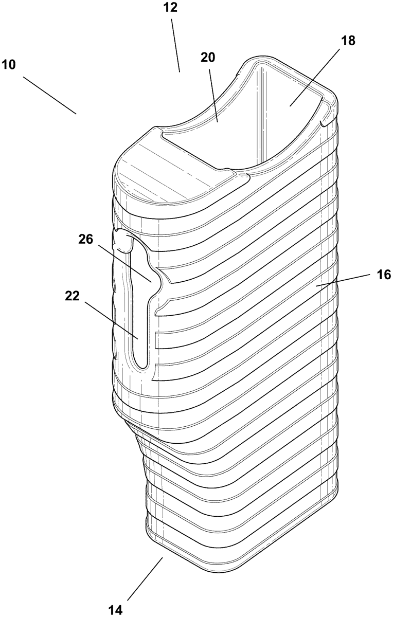
The patent describes a cover designed for non-lethal gun magazines, featuring an external shell with an inner chamber that securely holds the magazine and a recessed area for a compressed gas cartridge. It includes openings for both inserting the magazine and accessing the gas cartridge, facilitating manual contact when needed.
Claim 1
- A cover for a non-lethal gun magazine, which comprises: (a) an external shell that includes a top side, a bottom side, a wall that connects the top side and the bottom side, and an inner chamber; (b) a first opening located on the top side of the external shell, wherein the first opening is configured to receive a non-lethal gun magazine and the inner chamber is configured to fittingly hold the non-lethal gun magazine; (c) a recessed area within the inner chamber that is configured to receive and hold a compressed gas cartridge; and (d) a second opening within the wall that connects the top side and the bottom side, wherein the second opening is contiguous with the recessed area within the inner chamber and is configured to enable manual contact with the compressed gas cartridge when such compressed gas cartridge is held within the recessed area. (a) an external shell that includes a top side, a bottom side, a wall that connects the top side and the bottom side, and an inner chamber; (b) a first opening located on the top side of the external shell, wherein the first opening is configured to receive a non-lethal gun magazine and the inner chamber is configured to fittingly hold the non-lethal gun magazine; (c) a recessed area within the inner chamber that is configured to receive and hold a compressed gas cartridge; and (d) a second opening within the wall that connects the top side and the bottom side, wherein the second opening is contiguous with the recessed area within the inner chamber and is configured to enable manual contact with the compressed gas cartridge when such compressed gas cartridge is held within the recessed area.
Google Patents
https://patents.google.com/patent/US12405081
USPTO PDF
https://image-ppubs.uspto.gov/dirsearch-public/print/downloadPdf/12405081