US12405086 - Adjustable reticles for sighting operations, and related methods, apparatus, and sight devices

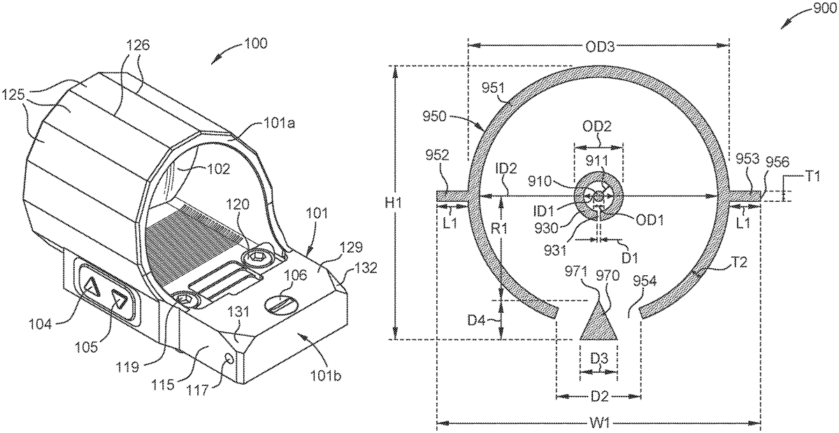
The patent describes a sight device featuring an illuminator with two sections designed to illuminate different areas of a reticle, allowing for enhanced sighting operations. The dimensions of these sections are proportionally related, with a specified ratio of less than 1:3 between the outer dimension of the first section and the inner dimension of the second section.
Claim 1
- A sight device, comprising: an illuminator comprising: a first illuminator section operable to illuminate a first section of a reticle, and a second illuminator section operable to illuminate a second section of the reticle radially outwardly of the first section, an outer dimension of the first section is a first ratio of an inner dimension of the second section, and the first ratio is less than 1:3. an illuminator comprising: a first illuminator section operable to illuminate a first section of a reticle, and a second illuminator section operable to illuminate a second section of the reticle radially outwardly of the first section, an outer dimension of the first section is a first ratio of an inner dimension of the second section, and the first ratio is less than 1:3. a first illuminator section operable to illuminate a first section of a reticle, and a second illuminator section operable to illuminate a second section of the reticle radially outwardly of the first section, an outer dimension of the first section is a first ratio of an inner dimension of the second section, and the first ratio is less than 1:3.
Google Patents
https://patents.google.com/patent/US12405086
USPTO PDF
https://image-ppubs.uspto.gov/dirsearch-public/print/downloadPdf/12405086