US12405088 - Dual-mode roll/nod gimballed seeker for a forming warhead

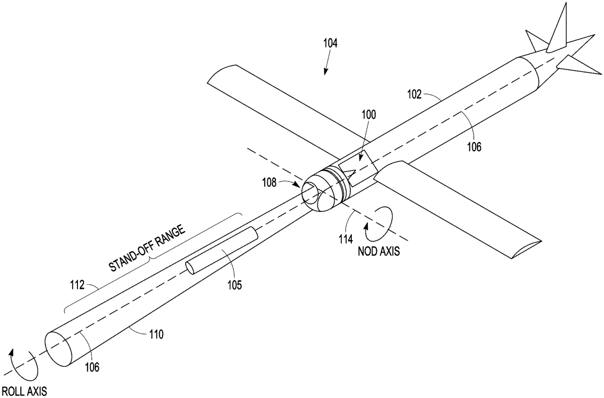
This patent describes a dual-mode roll/nod gimballed seeker designed to ensure an unobstructed path for a forming warhead’s penetrator during detonation. The system utilizes a nod assembly with two offset seekers that overlap in their fields of view, allowing for precise targeting while saving space in small diameter warheads.
Claim 1
- A warhead and seeker assembly, comprising: an airframe having a roll axis and a nod axis perpendicular to the roll axis; a forming warhead positioned within the airframe and configured to project a penetrator forward along the roll axis upon detonation; a roll gimbal positioned forward of the forming warhead; a dome positioned on the roll gimbal to rotate around the roll axis; a nod assembly including, a first seeker positioned within the dome, said first seeker having a first FOV that projects forward through the dome; and a second seeker positioned within the dome, said second seeker having a second FOV that projects forward through the dome such that the first and second field of view (FOV) overlap within a stand-off range to target; a nod gimbal configured to rotate the nod assembly about the nod axis; wherein said first and second seekers are separately offset from the roll axis such that at a nominal nod angle a path along the roll axis is unobstructed; wherein rotation of said nod assembly about the nod axis over a nod field-of regard (FOR) causes the first and second seekers to cross the roll axis and obstruct the path along the roll axis; and a controller configured such that just prior to detonation of the forming warhead the controller commands the nod gimbal to rotate the nod assembly to the nominal nod angle such that the penetrator moves unimpeded along the roll axis and unobstructed path through the dome. an airframe having a roll axis and a nod axis perpendicular to the roll axis; a forming warhead positioned within the airframe and configured to project a penetrator forward along the roll axis upon detonation; a roll gimbal positioned forward of the forming warhead; a dome positioned on the roll gimbal to rotate around the roll axis; a nod assembly including, a first seeker positioned within the dome, said first seeker having a first FOV that projects forward through the dome; and a second seeker positioned within the dome, said second seeker having a second FOV that projects forward through the dome such that the first and second field of view (FOV) overlap within a stand-off range to target; a first seeker positioned within the dome, said first seeker having a first FOV that projects forward through the dome; and a second seeker positioned within the dome, said second seeker having a second FOV that projects forward through the dome such that the first and second field of view (FOV) overlap within a stand-off range to target; a nod gimbal configured to rotate the nod assembly about the nod axis; wherein said first and second seekers are separately offset from the roll axis such that at a nominal nod angle a path along the roll axis is unobstructed; wherein rotation of said nod assembly about the nod axis over a nod field-of regard (FOR) causes the first and second seekers to cross the roll axis and obstruct the path along the roll axis; and a controller configured such that just prior to detonation of the forming warhead the controller commands the nod gimbal to rotate the nod assembly to the nominal nod angle such that the penetrator moves unimpeded along the roll axis and unobstructed path through the dome.
Google Patents
https://patents.google.com/patent/US12405088
USPTO PDF
https://image-ppubs.uspto.gov/dirsearch-public/print/downloadPdf/12405088