US12405092 - Horn antenna and method for reconstructing a horn antenna

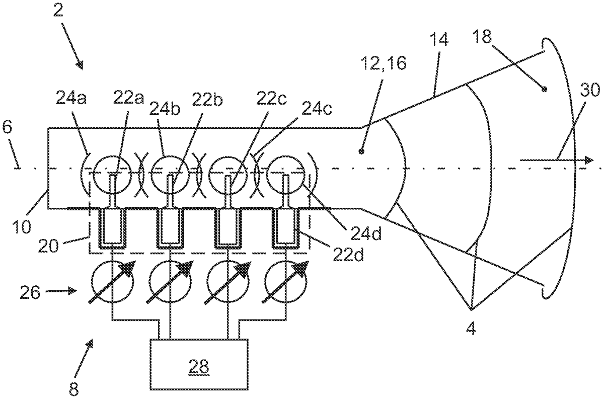
The patent describes a horn antenna designed to emit high-power electromagnetic microwave pulses, featuring a microwave generator with a waveguide and a horn structure for pulse shaping. It outlines a method for reconstructing the antenna to enhance power by increasing the number of antennas and adjusting the waveguide length while maintaining other dimensions.
Claim 1
- A horn antenna for emitting a high-power electromagnetic microwave pulse along a central axis, the horn antenna comprising: a microwave generator for generating the pulse, said microwave generator having a waveguide with a generator opening for outputting the pulse, said waveguide having a constant polygonal cross section extending entirely along said waveguide along the central axis; and a horn structure for shaping the pulse, said horn structure having an input opening serving to radiate the pulse, said input opening being connected to said generator opening, and said horn structure having an emission opening for emitting the shaped pulse; said microwave generator containing at least one high-power electromagnetic source for generating the pulse; said at least one high-power electromagnetic source containing at least two antennas disposed in succession in parallel with the central axis, said at least two antennas each serving to emit a respective pulse component; and the pulse being formed as a sum of said pulse components. a microwave generator for generating the pulse, said microwave generator having a waveguide with a generator opening for outputting the pulse, said waveguide having a constant polygonal cross section extending entirely along said waveguide along the central axis; and a horn structure for shaping the pulse, said horn structure having an input opening serving to radiate the pulse, said input opening being connected to said generator opening, and said horn structure having an emission opening for emitting the shaped pulse; said microwave generator containing at least one high-power electromagnetic source for generating the pulse; said at least one high-power electromagnetic source containing at least two antennas disposed in succession in parallel with the central axis, said at least two antennas each serving to emit a respective pulse component; and the pulse being formed as a sum of said pulse components.
Google Patents
https://patents.google.com/patent/US12405092
USPTO PDF
https://image-ppubs.uspto.gov/dirsearch-public/print/downloadPdf/12405092