US12405095 - Adjustable carrier device

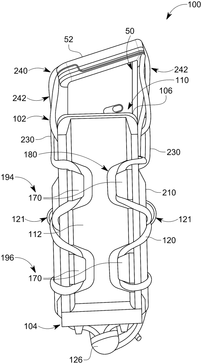
The adjustable carrier device features a body member with two parallel sections and a bracket with lateral side members, designed to securely hold a magazine or other articles using a binding member and retention mechanism. This innovative design allows for frictional engagement and easy adjustment to accommodate different sizes of magazines.
Claim 1
- A carrier device comprising: a body member comprising a first section and a second section connected to and disposed a distance from the first section, the first section and second section each having a respective terminal end; a bracket comprising a first lateral side member and a second lateral side member connected to and disposed a distance from the first lateral side member, the first lateral side member and second lateral side member each having a respective terminal end, the bracket further comprising a slot disposed adjacent to the terminal end of at least one of the first and second lateral side members, wherein the slot has a length disposed between an exterior surface the respective lateral side member and a laterally outward portion connected to and extending away from the terminal end of the respective lateral side member, wherein an interior of the carrier device is defined between the first section and second section of the body member and between the first lateral side member and second lateral side member; and a binding cord releasably engaging hooks disposed on at least one of the first section and the second section, a portion of the binding cord disposed through the slot. a body member comprising a first section and a second section connected to and disposed a distance from the first section, the first section and second section each having a respective terminal end; a bracket comprising a first lateral side member and a second lateral side member connected to and disposed a distance from the first lateral side member, the first lateral side member and second lateral side member each having a respective terminal end, the bracket further comprising a slot disposed adjacent to the terminal end of at least one of the first and second lateral side members, wherein the slot has a length disposed between an exterior surface the respective lateral side member and a laterally outward portion connected to and extending away from the terminal end of the respective lateral side member, wherein an interior of the carrier device is defined between the first section and second section of the body member and between the first lateral side member and second lateral side member; and a binding cord releasably engaging hooks disposed on at least one of the first section and the second section, a portion of the binding cord disposed through the slot.
Google Patents
https://patents.google.com/patent/US12405095
USPTO PDF
https://image-ppubs.uspto.gov/dirsearch-public/print/downloadPdf/12405095