US12410980 - Drop-in system to enhance the resetting and operations of semiautomatic firearms

semiautomatictriggerfirearmmechanismfrt
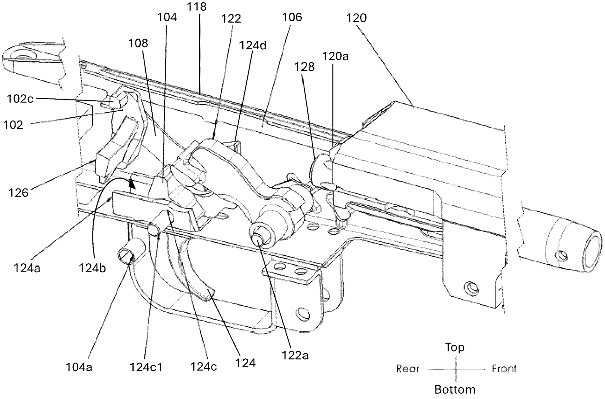
The patent describes a drop-in system designed to enhance the trigger operation of semiautomatic firearms, featuring components like a trigger-locking block, hump block, and a transfer bar that work together to improve functionality. This system allows for better control and resetting of the trigger during operation, ensuring a more efficient firing mechanism.
Claim 1
- A drop-in system for a semiautomatic firearm that includes a trigger assembly pivotal about a trigger axis pin, a bolt carrier that slides back and forth along a receiver of the semiautomatic firearm, a spring-loaded hammer that rotates about a hammer axis pin, a firearm safety including a corresponding safety axis pin extending therefrom, and a bolt carrier guide that extends along an interior of the receiver to guide the bolt carrier back and forth, the drop-in system comprising: an elongated axis retainer plate having one end configured to be fixed to the hammer axis pin and a second end configured to be fixed to the safety axis pin; a trigger-locking block configured to pivot about the firearm safety axis pin, the trigger-locking block including a limit protrusion extending from a lower end thereof to contact the elongated axis retainer plate to limit rearward pivotal movement of the trigger-locking block; a hump block configured to pivot about the trigger pin independently of pivotal movement of the trigger assembly; and a trigger-locking block transfer bar configured to slide along the bolt carrier guide and including a limit protrusion extending from a rear bottom portion thereof. an elongated axis retainer plate having one end configured to be fixed to the hammer axis pin and a second end configured to be fixed to the safety axis pin; a trigger-locking block configured to pivot about the firearm safety axis pin, the trigger-locking block including a limit protrusion extending from a lower end thereof to contact the elongated axis retainer plate to limit rearward pivotal movement of the trigger-locking block; a hump block configured to pivot about the trigger pin independently of pivotal movement of the trigger assembly; and a trigger-locking block transfer bar configured to slide along the bolt carrier guide and including a limit protrusion extending from a rear bottom portion thereof.
Google Patents
https://patents.google.com/patent/US12410980
USPTO PDF
https://image-ppubs.uspto.gov/dirsearch-public/print/downloadPdf/12410980