US12416467 - Projectile carrier for a valveless gas gun

The patent describes a projectile carrier designed for a valveless gas gun, which allows for the secure alignment and retention of a projectile within a separate carrier bore that communicates with a pressure chamber. This carrier features a locking mechanism that can transition between locked and unlocked positions to facilitate projectile loading and release under pressure.
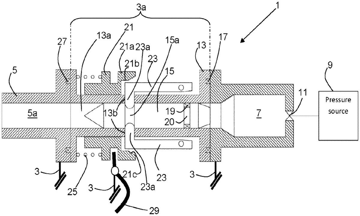
Claim 1
- A projectile carrier for a gas gun provided with a single barrel defining a barrel bore configured to guide a projectile, said projectile carrier comprising: a projectile carrier bore configured to hold a projectile aligned with said barrel bore of said gas gun and to be sealingly in communication with a pressure chamber when the projectile carrier is in a service position, the projectile carrier being configured to receive a projectile when in a loading position; and at least one projectile retaining element held in place by at least one locking element configured to move on the projectile carrier between a locking position, in which the at least one projectile retaining element is engaged with a retention surface comprised by the projectile, and an unlocked position, in which the projectile is free to move under the effect of pressure in the pressure chamber, wherein the projectile carrier is a separate part from the single barrel. a projectile carrier bore configured to hold a projectile aligned with said barrel bore of said gas gun and to be sealingly in communication with a pressure chamber when the projectile carrier is in a service position, the projectile carrier being configured to receive a projectile when in a loading position; and at least one projectile retaining element held in place by at least one locking element configured to move on the projectile carrier between a locking position, in which the at least one projectile retaining element is engaged with a retention surface comprised by the projectile, and an unlocked position, in which the projectile is free to move under the effect of pressure in the pressure chamber, wherein the projectile carrier is a separate part from the single barrel.
Google Patents
https://patents.google.com/patent/US12416467
USPTO PDF
https://image-ppubs.uspto.gov/dirsearch-public/print/downloadPdf/12416467