US12416469 - Gate-keeper rifle holder

firearmaccessorymounting
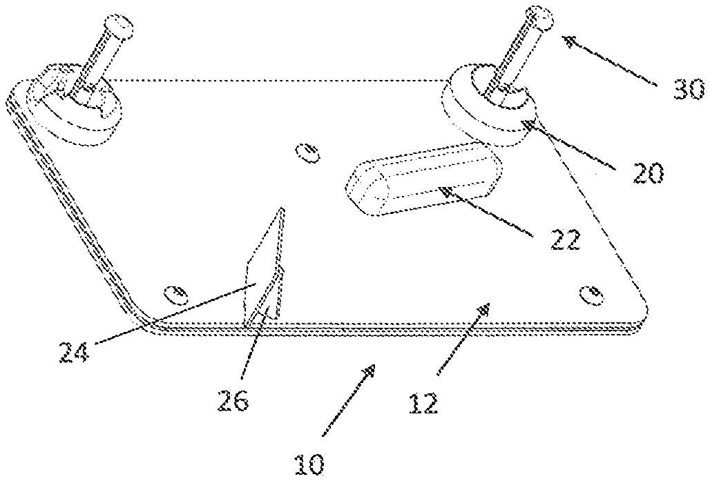
The Gate-keeper rifle holder is a firearm attachment designed for secure transport, featuring a receiver plate that can be affixed to clothing or accessories and incorporates various latching mechanisms for stability. It includes a housing with insertion posts that can be modified takedown pins, allowing for easy coupling and support of the firearm.
Claim 1
- A mounting device for a firearm, the mounting device comprising; a housing having two housing apertures; at least two insertion posts; and a capture interface having two spaced apart latching apertures aligned with the two housing apertures and wherein the capture interface is moveable within the housing and the each latching aperture is configured to receive and couple to one of the insertion posts to secure a first end of each insertion post to the mounting device, wherein the housing comprises one or more funneled features extending outwardly therefrom and surrounding each housing aperture for receiving and guiding each insertion post into the corresponding latching aperture on the capture interface, and wherein the insertion posts comprise extended takedown pins for the firearm or are pins of an adapter mounted to the firearm such that the mounting device is configured to support a firearm thereon. a housing having two housing apertures; at least two insertion posts; and a capture interface having two spaced apart latching apertures aligned with the two housing apertures and wherein the capture interface is moveable within the housing and the each latching aperture is configured to receive and couple to one of the insertion posts to secure a first end of each insertion post to the mounting device, wherein the housing comprises one or more funneled features extending outwardly therefrom and surrounding each housing aperture for receiving and guiding each insertion post into the corresponding latching aperture on the capture interface, and wherein the insertion posts comprise extended takedown pins for the firearm or are pins of an adapter mounted to the firearm such that the mounting device is configured to support a firearm thereon.
Google Patents
https://patents.google.com/patent/US12416469
USPTO PDF
https://image-ppubs.uspto.gov/dirsearch-public/print/downloadPdf/12416469