US12416471 - Modular holster assembly

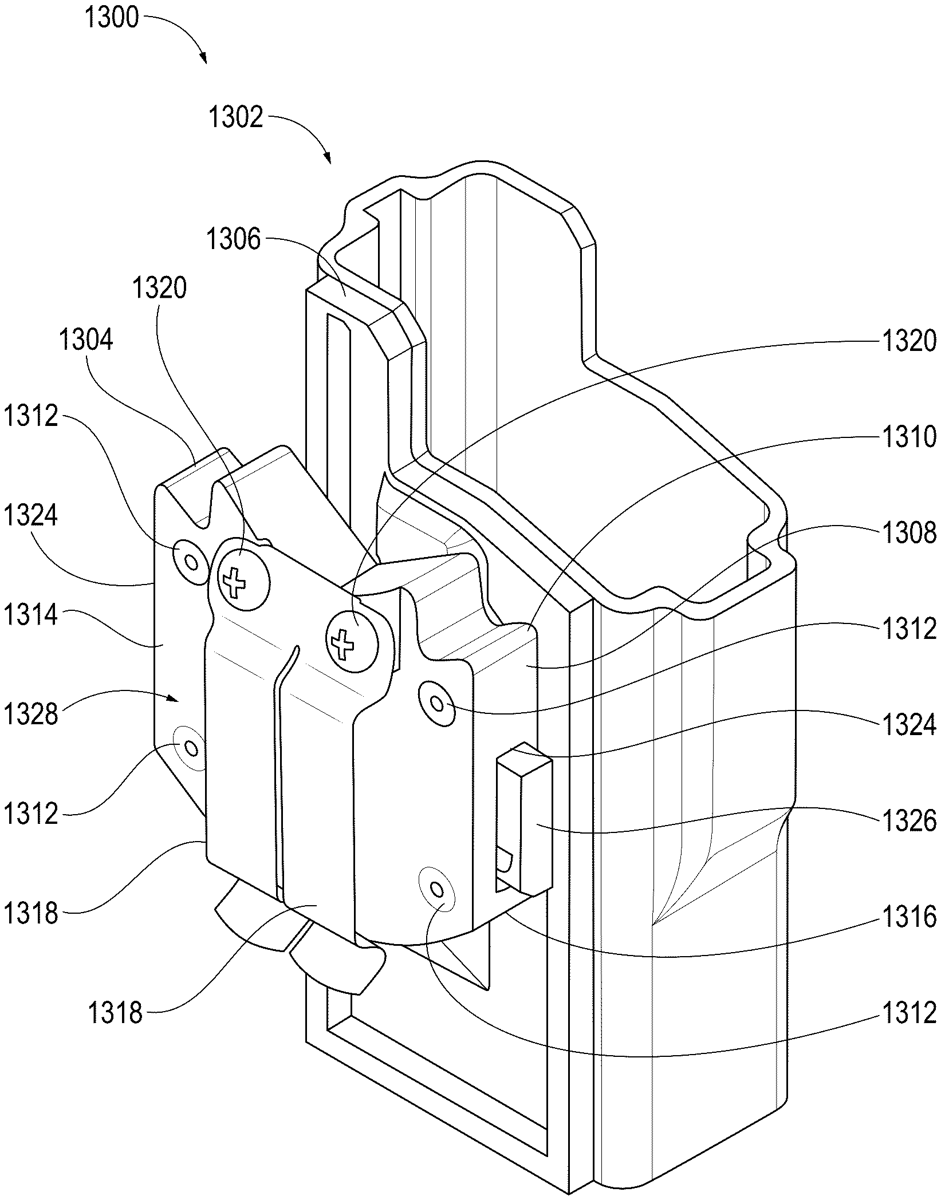
The patent describes a modular holster assembly featuring a mounting apparatus that includes a clip, a slide lock, and pinch plates for securely attaching and detaching the holster. The holster itself incorporates a ring support structure designed to engage with the mounting apparatus, enhancing versatility and ease of use.
Claim 1
- A holster system comprising: a clip; a holster for supporting a tool, the holster comprising a ring support structure having a cavity comprising a ring attachment structure, the ring attachment structure comprising retention portions for engaging a gear head of a slide lock; and a mounting apparatus comprising a cavity that includes the slide lock, and an opening through which the gear head of the slide lock protrudes, the mounting apparatus further comprising openings through which portions of pinch plates can extend for disengaging the holster from the mounting apparatus. a clip; a holster for supporting a tool, the holster comprising a ring support structure having a cavity comprising a ring attachment structure, the ring attachment structure comprising retention portions for engaging a gear head of a slide lock; and a mounting apparatus comprising a cavity that includes the slide lock, and an opening through which the gear head of the slide lock protrudes, the mounting apparatus further comprising openings through which portions of pinch plates can extend for disengaging the holster from the mounting apparatus.
Google Patents
https://patents.google.com/patent/US12416471
USPTO PDF
https://image-ppubs.uspto.gov/dirsearch-public/print/downloadPdf/12416471