US12416475 - Ballistic vest

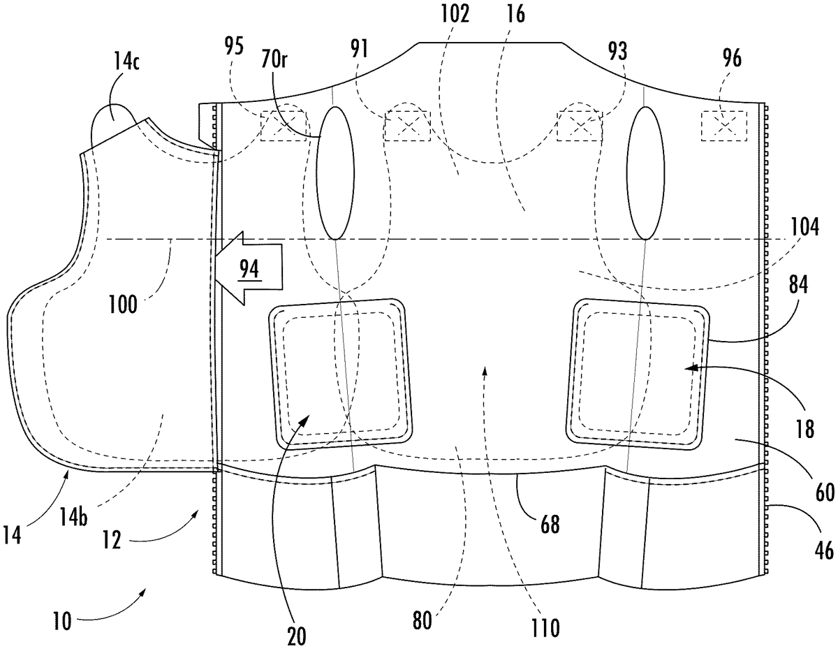
The patent describes a ballistic vest featuring a carrier with an inner and outer layer that creates a panel space for ballistic panels, allowing for flexibility and movement. The design includes a front zipper and a flap pocket for secure placement of the front panel sections, enhancing comfort and protection for the wearer.
Claim 1
- A ballistic vest, comprising: a carrier; and a plurality of ballistic panels supported in the carrier, including a front panel for extending across the front of a user’s torso when the vest is being worn by the user; the carrier having first and second lateral front sides when the vest is donned, and the carrier also having a front zipper for joining said first and second lateral front sides at the front of the vest when the vest is donned; the carrier being made from at least two layers of material including an inner layer and an outer layer which are joined to each other at their top and bottom; the carrier inner and outer layers defining between them a panel space in the carrier that is accessible through side openings between the carrier inner and outer layers; the carrier including a flap pocket extending from the outer layer panel adjacent the side opening on the first lateral front side of the carrier; a first lateral section of the front panel being located in the panel space in the carrier on one lateral front side of the carrier, adjacent to the flap pocket; a second lateral section of the front panel being located within the flap pocket; and when the ballistic vest is donned, the flap pocket, having the second lateral section of the front panel therein, being inserted between the inner and outer carrier layers and thereby located in the panel space in the carrier on the second lateral front side of the carrier. a carrier; and a plurality of ballistic panels supported in the carrier, including a front panel for extending across the front of a user’s torso when the vest is being worn by the user; the carrier having first and second lateral front sides when the vest is donned, and the carrier also having a front zipper for joining said first and second lateral front sides at the front of the vest when the vest is donned; the carrier being made from at least two layers of material including an inner layer and an outer layer which are joined to each other at their top and bottom; the carrier inner and outer layers defining between them a panel space in the carrier that is accessible through side openings between the carrier inner and outer layers; the carrier including a flap pocket extending from the outer layer panel adjacent the side opening on the first lateral front side of the carrier; a first lateral section of the front panel being located in the panel space in the carrier on one lateral front side of the carrier, adjacent to the flap pocket; a second lateral section of the front panel being located within the flap pocket; and when the ballistic vest is donned, the flap pocket, having the second lateral section of the front panel therein, being inserted between the inner and outer carrier layers and thereby located in the panel space in the carrier on the second lateral front side of the carrier.
Google Patents
https://patents.google.com/patent/US12416475
USPTO PDF
https://image-ppubs.uspto.gov/dirsearch-public/print/downloadPdf/12416475