US12416477 - Micro gas generator and method for producing a micro gas generator

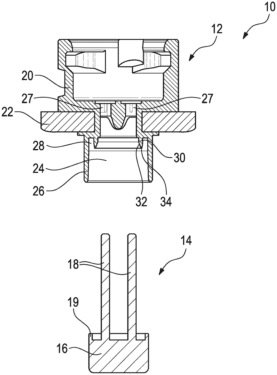
The patent describes a micro gas generator designed for vehicle safety systems, featuring a plastic housing that is injection-molded around a metallic insert, ensuring a secure connection. It includes a specific design for an igniter seat that accommodates an ignition head with a collar, enhancing the assembly’s functionality.
Claim 1
- A micro gas generator ( 10 ) for a vehicle safety system comprising a plastic housing part ( 20 ) and a metallic insert ( 22 ), wherein the plastic material forming the housing part ( 20 ) is injection-molded around the insert ( 22 ) so that the insert is positively connected to the housing part ( 20 ), and wherein a seat ( 24 ) in which an igniter ( 14 ) is inserted is formed in the housing part ( 20 ), the igniter ( 14 ) having an ignition head ( 16 ), wherein a collar ( 19 ) projecting in the axial direction toward the housing part ( 20 ) is formed on an end face of the ignition head ( 16 ) and an annular seat ( 28 ) for the collar ( 19 ) is formed in the housing part ( 20 ), the seat ( 28 ) for the collar ( 19 ) of the ignition head ( 16 ) being partly formed by an annular projection ( 30 ) extending in the axial direction toward the ignition head ( 16 ) which projection specifically abuts on an inner face of the collar ( 19 ) of the ignition head ( 16 ).
Google Patents
https://patents.google.com/patent/US12416477
USPTO PDF
https://image-ppubs.uspto.gov/dirsearch-public/print/downloadPdf/12416477