US12420212 - Planar dispenser

The patent describes a planar ejector featuring an ejecting mechanism with a motor that enhances the efficiency of the ejecting process by utilizing dual eject gears. This design includes a compress mechanism and various handles and plates to facilitate operation and improve the ejector’s capacity.
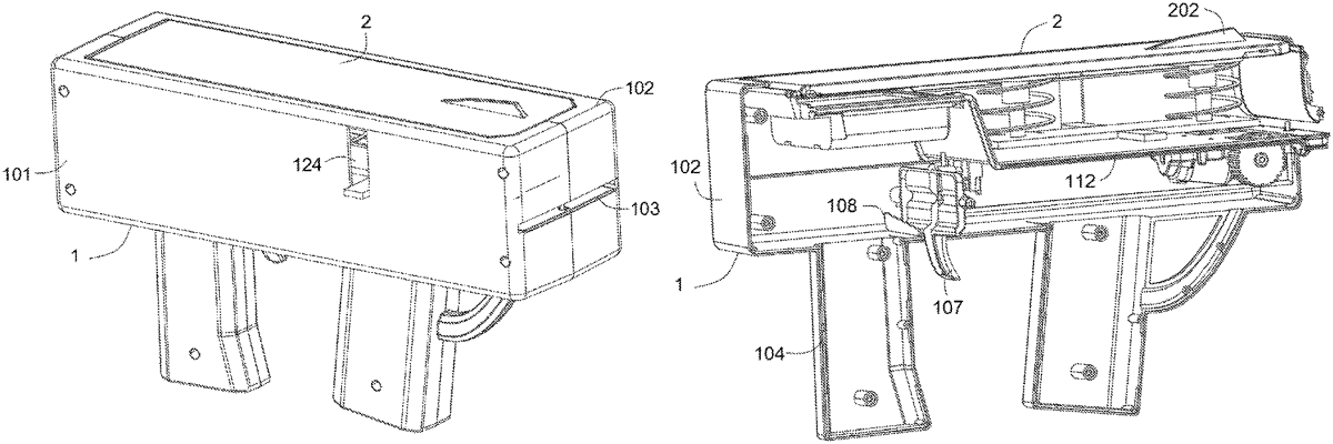
Claim 1
- A planar ejector, comprising an ejecting mechanism and a motor mounted on a side of an interior of the ejecting mechanism; a top of the ejecting mechanism is provided with a compress mechanism, and a side of a bottom of the compress mechanism is provided with a support plate; wherein the ejecting mechanism comprises a first shell, a side of the first shell is clamping connected to a second shell, the first shell and the side of the first shell are provided with an ejecting slot, the first shell and a side of a bottom of the first shell are fixedly mounted with a first handle; wherein the first shell and a side of the bottom of the first shell near the first handle is fixedly mounted with a second handle; wherein a side of a top of the first handle is rotatably connected with a rotating plate, and a bottom of the rotating plate is fixedly connected with a switch; wherein a side of the rotating plate is clamping connected to a limit block, a side of the bottom of the rotating plate is rotatably connected with a connecting stopper, one end of the connecting stopper is clamping connected to a limit plate, a limit hole is provided in a middle of the limit plate, and an ejecting base plate is fixedly mounted on the first shell and an interior of the first shell. a top of the ejecting mechanism is provided with a compress mechanism, and a side of a bottom of the compress mechanism is provided with a support plate; wherein the ejecting mechanism comprises a first shell, a side of the first shell is clamping connected to a second shell, the first shell and the side of the first shell are provided with an ejecting slot, the first shell and a side of a bottom of the first shell are fixedly mounted with a first handle; wherein the first shell and a side of the bottom of the first shell near the first handle is fixedly mounted with a second handle; wherein a side of a top of the first handle is rotatably connected with a rotating plate, and a bottom of the rotating plate is fixedly connected with a switch; wherein a side of the rotating plate is clamping connected to a limit block, a side of the bottom of the rotating plate is rotatably connected with a connecting stopper, one end of the connecting stopper is clamping connected to a limit plate, a limit hole is provided in a middle of the limit plate, and an ejecting base plate is fixedly mounted on the first shell and an interior of the first shell.
Google Patents
https://patents.google.com/patent/US12420212
USPTO PDF
https://image-ppubs.uspto.gov/dirsearch-public/print/downloadPdf/12420212