US12422205 - Firearm magazine

firearmmagazineammunition
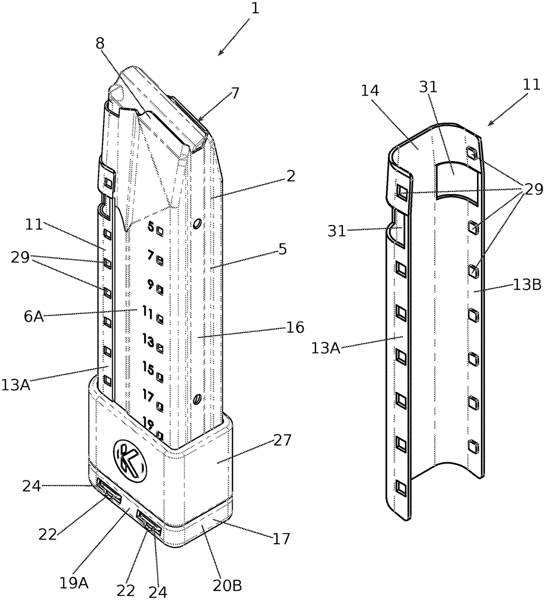
The patent describes a firearm magazine featuring a tubular body with a forward wall that includes a joint, and a clamp that compresses this joint in a side-to-side direction. Additionally, the magazine incorporates latching elements on its side walls that interact with corresponding elements on the clamp for secure attachment.
Claim 1
- A firearm magazine comprising: a tubular body defining a hollow interior and having a forward wall, a rearward wall, a first side wall, a second opposite side wall, an open top and an open bottom opposite the open top, wherein the forward wall comprises a joint at which a material of the tubular body is joined together, wherein the joint runs along the forward wall between the open top and the open bottom; a clamp, which is slid onto the tubular body and compresses at least a section of the forward wall in a side-to-side direction, wherein the section comprises the joint; and wherein the first side wall and the second side wall each comprise at least one interacting latching element and the clamp comprises corresponding interacting latching elements, wherein each of the at least one interacting latching element of the first side wall and of the second side wall engages with one of the interacting latching elements of the clamp. a tubular body defining a hollow interior and having a forward wall, a rearward wall, a first side wall, a second opposite side wall, an open top and an open bottom opposite the open top, wherein the forward wall comprises a joint at which a material of the tubular body is joined together, wherein the joint runs along the forward wall between the open top and the open bottom; a clamp, which is slid onto the tubular body and compresses at least a section of the forward wall in a side-to-side direction, wherein the section comprises the joint; and wherein the first side wall and the second side wall each comprise at least one interacting latching element and the clamp comprises corresponding interacting latching elements, wherein each of the at least one interacting latching element of the first side wall and of the second side wall engages with one of the interacting latching elements of the clamp.
Google Patents
https://patents.google.com/patent/US12422205
USPTO PDF
https://image-ppubs.uspto.gov/dirsearch-public/print/downloadPdf/12422205