US12422227 - Payload delivery apparatus

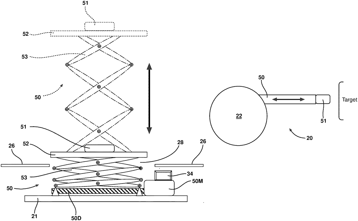
The patent describes a payload delivery apparatus designed for deploying payloads to hostile targets, featuring a hollow body with a concealed payload delivery mechanism that can extend through a port. It includes two drive wheels, a gravity-stable frame, and a remote control system for operation, allowing for discreet movement and delivery of the payload.
Claim 1
- An apparatus for delivering a payload in a hostile environment, the apparatus comprising: a hollow body having a longitudinal axis and a port therethrough; a longitudinally elongate gravity stable frame disposed within the hollow body; the frame having an upper surface and a lower surface opposed thereto; two longitudinally opposed, axially rotatable wheels operably associated with the body; a battery powered motor rotatably associated with each wheel; a controller for controlling the battery powered motor; a receiver for receiving remote control signals from an operator and feeding the control signals to the controller; at least one counterweight joined to the frame below the longitudinal axis, whereby the at least one counterweight is adapted to keep the frame gravity stable; a payload delivery mechanism (PDM), the PDM being concealable within the hollow body while the hollow body is in motion and being configured to discharge a payload from inside the hollow body, through the port and to a target at the point of deployment; and a battery for powering the apparatus and being connected to the frame. a hollow body having a longitudinal axis and a port therethrough; a longitudinally elongate gravity stable frame disposed within the hollow body; the frame having an upper surface and a lower surface opposed thereto; two longitudinally opposed, axially rotatable wheels operably associated with the body; a battery powered motor rotatably associated with each wheel; a controller for controlling the battery powered motor; a receiver for receiving remote control signals from an operator and feeding the control signals to the controller; at least one counterweight joined to the frame below the longitudinal axis, whereby the at least one counterweight is adapted to keep the frame gravity stable; a payload delivery mechanism (PDM), the PDM being concealable within the hollow body while the hollow body is in motion and being configured to discharge a payload from inside the hollow body, through the port and to a target at the point of deployment; and a battery for powering the apparatus and being connected to the frame.
Google Patents
https://patents.google.com/patent/US12422227
USPTO PDF
https://image-ppubs.uspto.gov/dirsearch-public/print/downloadPdf/12422227