US12422229 - Initiator assembly having an initiator cartridge and method for constructing an initiator assembly

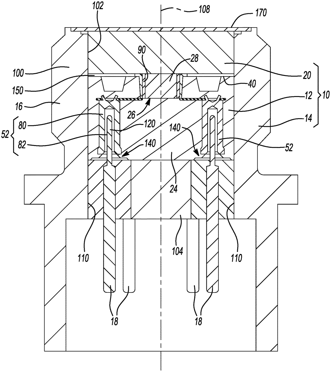
The patent describes an initiator assembly featuring a cartridge housing made of plastic that contains an initiation package with an exploding foil initiator and an input charge, which is partially composed of a secondary explosive. The design includes orientation features and a void space to enhance functionality and safety in the assembly’s operation.
Claim 1
- An initiator assembly comprising: an initiator cartridge having a cartridge housing, an initiation package and an input charge, the cartridge housing being formed of a plastic material and defining an outer circumferential surface, a recess, and a plurality of orientation features, the recess being formed into a first axial end of the cartridge housing, the orientation features being disposed through the first axial end of the cartridge housing and being disposed inwardly of the outer circumferential surface, the initiation package having an exploding foil initiator and a plurality of cartridge terminals, the exploding foil initiator having a bridge, the cartridge terminals being electrically coupled to the bridge, the initiation package being at least partly encapsulated in the plastic material that forms the cartridge housing, the input charge being at least partly formed of a secondary explosive and being received in the recess in the cartridge housing, wherein a void space is formed in the first axial end of the cartridge housing, the void space being disposed outwardly of the recess and inwardly of the outer circumferential surface. an initiator cartridge having a cartridge housing, an initiation package and an input charge, the cartridge housing being formed of a plastic material and defining an outer circumferential surface, a recess, and a plurality of orientation features, the recess being formed into a first axial end of the cartridge housing, the orientation features being disposed through the first axial end of the cartridge housing and being disposed inwardly of the outer circumferential surface, the initiation package having an exploding foil initiator and a plurality of cartridge terminals, the exploding foil initiator having a bridge, the cartridge terminals being electrically coupled to the bridge, the initiation package being at least partly encapsulated in the plastic material that forms the cartridge housing, the input charge being at least partly formed of a secondary explosive and being received in the recess in the cartridge housing, wherein a void space is formed in the first axial end of the cartridge housing, the void space being disposed outwardly of the recess and inwardly of the outer circumferential surface.
Google Patents
https://patents.google.com/patent/US12422229
USPTO PDF
https://image-ppubs.uspto.gov/dirsearch-public/print/downloadPdf/12422229