US12429300 - Archery assembly and method

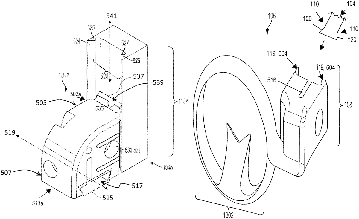
The patent describes an archery assembly that includes a mount portion designed to attach to a bow riser, featuring a face surface and a first dovetail structure for vertical adjustment. Additionally, the assembly incorporates a support portion with a second dovetail structure and an arrow holder, allowing for versatile positioning and support of arrows.
Claim 1
- An archery assembly comprising: a mount portion comprising: a face surface; and a first dovetail structure defining a first dovetail track extending along a first adjustment axis, wherein the mount portion is configured to be mounted to a bow riser, wherein the mount portion is configured so that, when the mount portion is positioned in a vertical orientation when mounted to the bow riser: (a) the face surface is at least partially in contact with a rear surface of the bow riser; and (b) the first dovetail track extends vertically; a support portion that is supported by the mount portion, wherein the support portion comprises a second dovetail structure defining a second dovetail track extending along a second adjustment axis, wherein the second adjustment axis differs from the first adjustment axis; and an arrow holder supported by the support portion, wherein the arrow holder is configured to support an arrow. a mount portion comprising: a face surface; and a first dovetail structure defining a first dovetail track extending along a first adjustment axis, wherein the mount portion is configured to be mounted to a bow riser, wherein the mount portion is configured so that, when the mount portion is positioned in a vertical orientation when mounted to the bow riser: (a) the face surface is at least partially in contact with a rear surface of the bow riser; and (b) the first dovetail track extends vertically; a face surface; and a first dovetail structure defining a first dovetail track extending along a first adjustment axis, wherein the mount portion is configured to be mounted to a bow riser, wherein the mount portion is configured so that, when the mount portion is positioned in a vertical orientation when mounted to the bow riser: (a) the face surface is at least partially in contact with a rear surface of the bow riser; and (b) the first dovetail track extends vertically; (a) the face surface is at least partially in contact with a rear surface of the bow riser; and (b) the first dovetail track extends vertically; a support portion that is supported by the mount portion, wherein the support portion comprises a second dovetail structure defining a second dovetail track extending along a second adjustment axis, wherein the second adjustment axis differs from the first adjustment axis; and an arrow holder supported by the support portion, wherein the arrow holder is configured to support an arrow.
Google Patents
https://patents.google.com/patent/US12429300
USPTO PDF
https://image-ppubs.uspto.gov/dirsearch-public/print/downloadPdf/12429300