US12429308 - Systems and methods for firearm sight mounting plates

firearmsightmountingplate
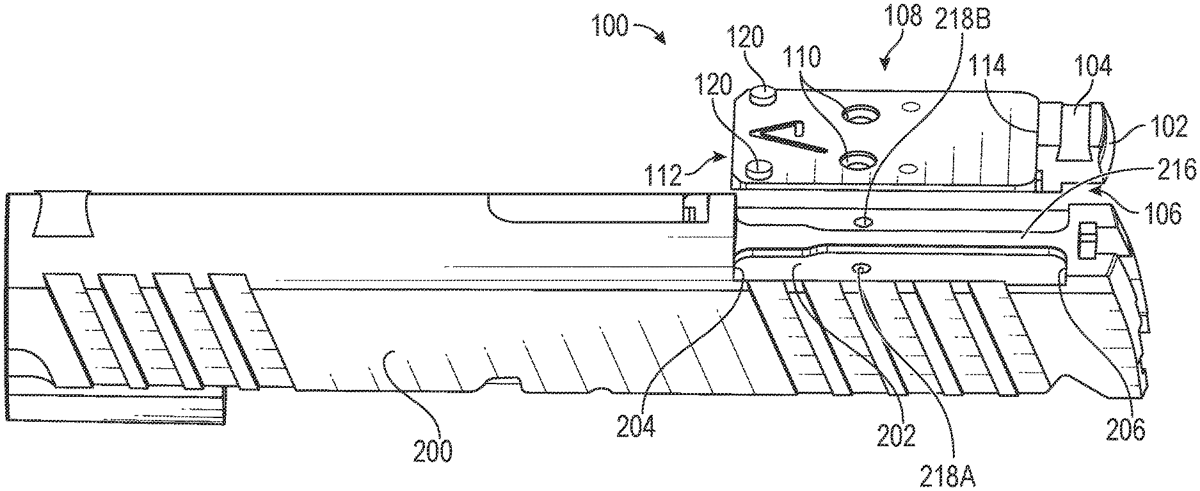
The patent describes a firearm sight mounting plate assembly that includes a firearm slide with a recess featuring a rib, designed to securely hold a mounting plate. The mounting plate has a channel on its bottom surface that accommodates the rib, with varying widths to ensure a stable fit.
Claim 1
- A firearm sight mounting plate assembly, comprising: a firearm slide having a top side, the firearm slide comprising: a recess defined along the top side of the firearm slide, the recess comprising: a recessed surface extending along the top side of the firearm slide; and a rib extending along the recessed surface; and a mounting plate having a top surface and an opposed bottom surface, the mounting plate comprising: a channel defined in the bottom surface of the mounting plate and configured to receive the rib therein, the channel comprising: a first channel portion having a first constant channel width along at least a majority of the first channel portion; and a second channel portion having a second constant channel width along at least a majority of the second channel portion, the second constant channel width being less than the first constant channel width. a firearm slide having a top side, the firearm slide comprising: a recess defined along the top side of the firearm slide, the recess comprising: a recessed surface extending along the top side of the firearm slide; and a rib extending along the recessed surface; and a recess defined along the top side of the firearm slide, the recess comprising: a recessed surface extending along the top side of the firearm slide; and a rib extending along the recessed surface; and a recessed surface extending along the top side of the firearm slide; and a rib extending along the recessed surface; and a mounting plate having a top surface and an opposed bottom surface, the mounting plate comprising: a channel defined in the bottom surface of the mounting plate and configured to receive the rib therein, the channel comprising: a first channel portion having a first constant channel width along at least a majority of the first channel portion; and a second channel portion having a second constant channel width along at least a majority of the second channel portion, the second constant channel width being less than the first constant channel width. a channel defined in the bottom surface of the mounting plate and configured to receive the rib therein, the channel comprising: a first channel portion having a first constant channel width along at least a majority of the first channel portion; and a second channel portion having a second constant channel width along at least a majority of the second channel portion, the second constant channel width being less than the first constant channel width. a first channel portion having a first constant channel width along at least a majority of the first channel portion; and a second channel portion having a second constant channel width along at least a majority of the second channel portion, the second constant channel width being less than the first constant channel width.
Google Patents
https://patents.google.com/patent/US12429308
USPTO PDF
https://image-ppubs.uspto.gov/dirsearch-public/print/downloadPdf/12429308