US12429315 - Firearm target frame

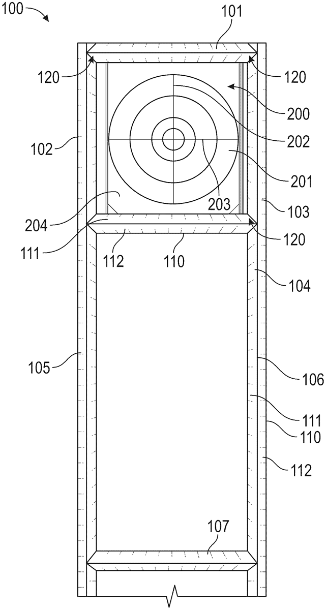
The patent describes a target frame designed to securely hold a rectangular target using grooved vertical sides and a slotted top for easy insertion. The frame’s construction allows for projectile ricochet while maintaining a rigid structure without the need for fasteners or clamps to retain the target.
Claim 1
- A frame for a target, the frame comprising: vertically oriented side members, each of the vertically oriented side members having a longitudinal groove on an internal side of the vertically oriented side members, wherein the grooves oppose each other and are dimensioned to receive opposite edges of the target, said target being planar; a horizontally oriented bottom member; and a horizontally oriented top member comprising a pair of spaced apart members defining a slot therebetween: wherein the slot is sized to allow insertion of the target from above by gravity so that the target drops into the grooves until the target rests on top of the horizontally oriented bottom member; wherein each of the vertically oriented side members, the horizontally oriented bottom member, and the horizontally oriented top member have first and second sloped surfaces that taper rearwardly and away from a central ridge so that projectiles ricochet downrange from (i) a point of impact and (ii) a location at which the projectiles are released; wherein an upper end of each vertically oriented side member and each end of the horizontally oriented bottom member and the horizontally oriented top member are cut at complementary angles to form mitered joints; and further wherein the side members are fixedly joined to the top and bottom members at said mitered joints, thereby forming a rectangular shape and a rigidness in said frame; wherein the grooves for holding the target in place is free from a compression force or clamping that establishes a frictional fit of the target within the frame; and wherein the frame is free from fasteners or locking mechanisms that directly attach to the target to retain the target. vertically oriented side members, each of the vertically oriented side members having a longitudinal groove on an internal side of the vertically oriented side members, wherein the grooves oppose each other and are dimensioned to receive opposite edges of the target, said target being planar; a horizontally oriented bottom member; and a horizontally oriented top member comprising a pair of spaced apart members defining a slot therebetween: wherein the slot is sized to allow insertion of the target from above by gravity so that the target drops into the grooves until the target rests on top of the horizontally oriented bottom member; wherein each of the vertically oriented side members, the horizontally oriented bottom member, and the horizontally oriented top member have first and second sloped surfaces that taper rearwardly and away from a central ridge so that projectiles ricochet downrange from (i) a point of impact and (ii) a location at which the projectiles are released; wherein an upper end of each vertically oriented side member and each end of the horizontally oriented bottom member and the horizontally oriented top member are cut at complementary angles to form mitered joints; and further wherein the side members are fixedly joined to the top and bottom members at said mitered joints, thereby forming a rectangular shape and a rigidness in said frame; wherein the grooves for holding the target in place is free from a compression force or clamping that establishes a frictional fit of the target within the frame; and wherein the frame is free from fasteners or locking mechanisms that directly attach to the target to retain the target.
Google Patents
https://patents.google.com/patent/US12429315
USPTO PDF
https://image-ppubs.uspto.gov/dirsearch-public/print/downloadPdf/12429315