US12434366 - Trigger valves for pressurized fluid operated devices

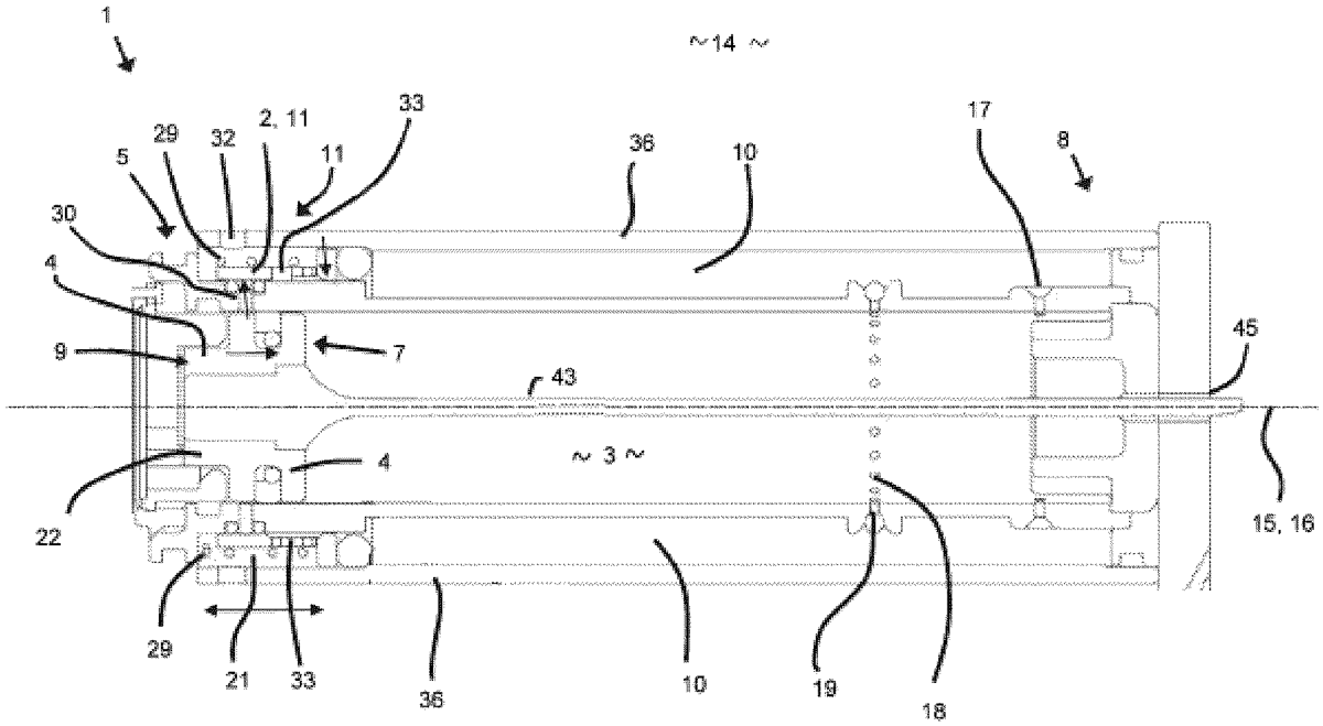
This patent describes an actuation trigger mechanism for devices utilizing high-pressure working fluid, featuring a dose chamber, a dose valve, and a hammer operated by a piston. The system operates by creating a force imbalance that allows the hammer to strike the dose valve, thereby releasing the charge into the working chamber to perform work.
Claim 1
- An actuation trigger for a device, comprising: a dose chamber to hold a charge of high pressure working fluid, received from a high pressure source; a dose valve biased closed to seal the dose chamber off from a working chamber and hold the charge in the dose chamber; a hammer operated by a piston with a driven chamber on a first side of the piston, and a trigger chamber on a second side of the piston, sealed from the first side, the driven chamber receiving the high pressure working fluid directly or indirectly from the high pressure source; and a trigger valve to selectively supply the high pressure working fluid to the trigger chamber, or to release the high pressure working fluid from the trigger chamber, wherein, when the hammer has the high pressure working fluid in both the driven chamber and the trigger chamber, the hammer is held by a force imbalance in a first position, and when the high pressure working fluid is released from the trigger chamber, the hammer is driven to or towards a second position towards the trigger chamber; and wherein the hammer, when driven to or towards the second position, strikes the dose valve, unseating the dose valve to unseal the dose chamber and the working chamber thus allowing the charge to enter the working chamber to do work therein. a dose chamber to hold a charge of high pressure working fluid, received from a high pressure source; a dose valve biased closed to seal the dose chamber off from a working chamber and hold the charge in the dose chamber; a hammer operated by a piston with a driven chamber on a first side of the piston, and a trigger chamber on a second side of the piston, sealed from the first side, the driven chamber receiving the high pressure working fluid directly or indirectly from the high pressure source; and a trigger valve to selectively supply the high pressure working fluid to the trigger chamber, or to release the high pressure working fluid from the trigger chamber, wherein, when the hammer has the high pressure working fluid in both the driven chamber and the trigger chamber, the hammer is held by a force imbalance in a first position, and when the high pressure working fluid is released from the trigger chamber, the hammer is driven to or towards a second position towards the trigger chamber; and wherein the hammer, when driven to or towards the second position, strikes the dose valve, unseating the dose valve to unseal the dose chamber and the working chamber thus allowing the charge to enter the working chamber to do work therein. wherein, when the hammer has the high pressure working fluid in both the driven chamber and the trigger chamber, the hammer is held by a force imbalance in a first position, and when the high pressure working fluid is released from the trigger chamber, the hammer is driven to or towards a second position towards the trigger chamber; and wherein the hammer, when driven to or towards the second position, strikes the dose valve, unseating the dose valve to unseal the dose chamber and the working chamber thus allowing the charge to enter the working chamber to do work therein.
Google Patents
https://patents.google.com/patent/US12434366
USPTO PDF
https://image-ppubs.uspto.gov/dirsearch-public/print/downloadPdf/12434366