US12435605 - Tandem sub for self-orienting perforating system

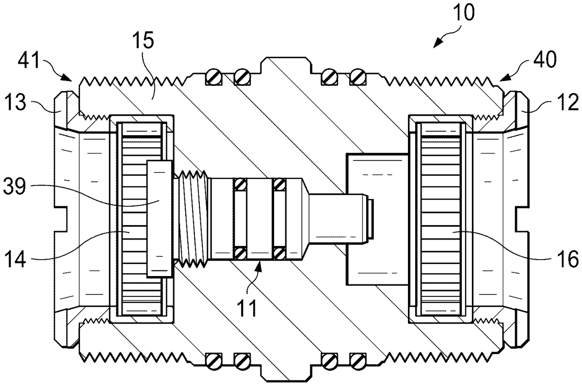
The patent describes a tandem sub designed to connect multiple perforating gun assemblies, featuring rotational mechanisms that allow charge tubes to rotate freely, thereby protecting the tandem sub during firing. Additionally, it includes a feed-through bulkhead that ensures electrical contact and pressure sealing between the connected guns.
Claim 1
- A tandem sub, used to connect one or more perforating gun assemblies, comprising: a first rotational mechanism disposed within a first sleeve located at a first end, wherein the first rotational mechanism is adapted to engage with a first charge tube in a first perforating gun and allow the first charge tube to rotate freely; a second rotational mechanism disposed within a second sleeve located at a second end, wherein the second rotational mechanism is adapted to engage with a second charge tube in a second perforating gun and allow the second charge tube to rotate freely; and an outer tandem housing, wherein the outer housing is adapted to engage a first outer gun housing of the first perforating gun and engage a second outer gun housing of the second perforating gun; and a feed through bulkhead installed within a through passage, wherein the feed through bulkhead provides an electric contact between the first perforating gun and the second perforating gun while further providing a pressure seal between the first perforating gun and the second perforating gun.
Google Patents
https://patents.google.com/patent/US12435605
USPTO PDF
https://image-ppubs.uspto.gov/dirsearch-public/print/downloadPdf/12435605