US12435947 - Projectile launching device

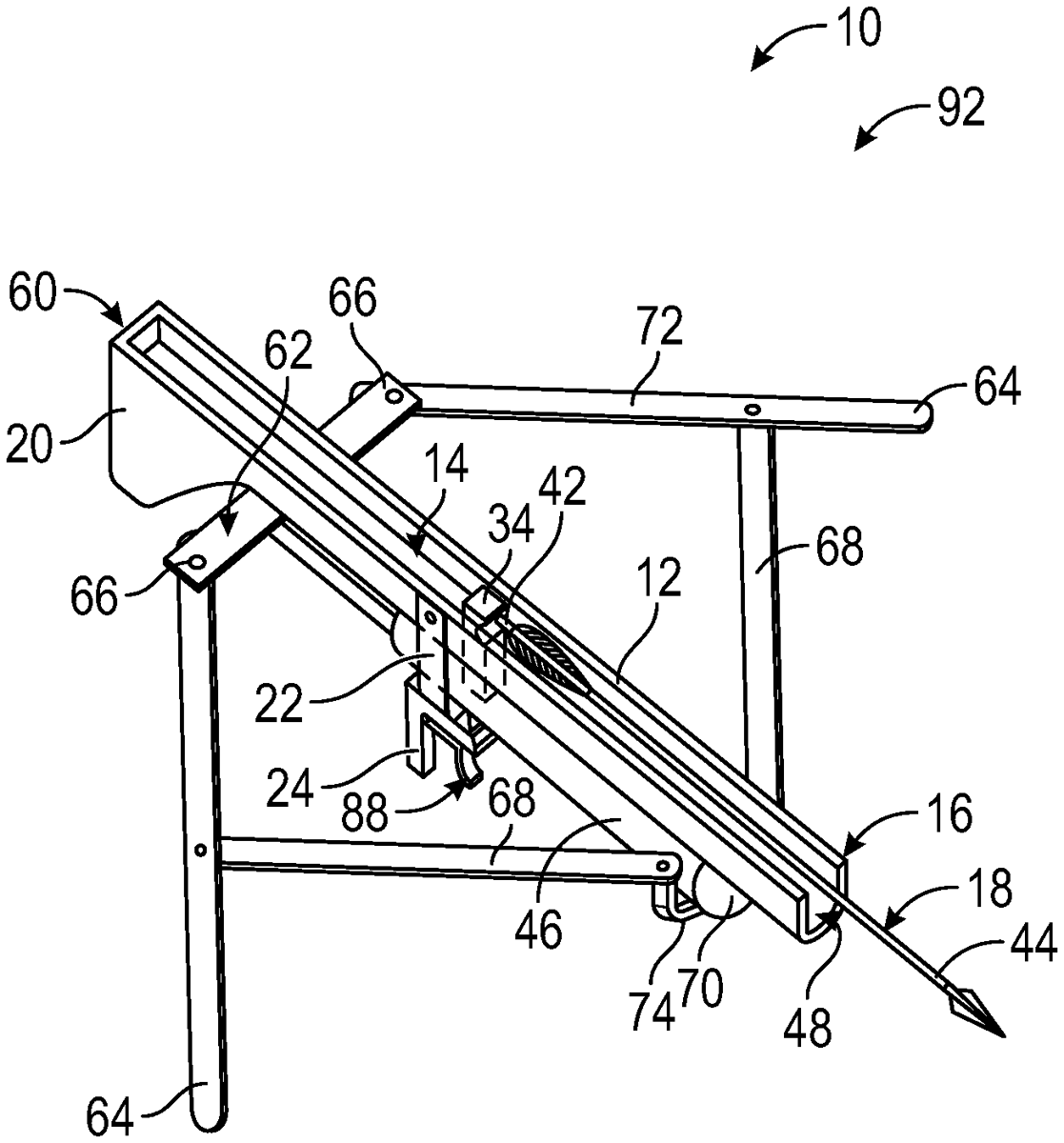
The patent describes a projectile launching device designed for hunting and target shooting, featuring a barrel, a slidable carriage, and a driver that propels projectiles. It includes pivotally attached arms for charging the driver, a catch for locking it in place, and a switch for discharging the driver to launch the projectile.
Claim 1
- A projectile launching device comprising: a barrel; a slot positioned in a bottom of the barrel; a guide rail attached to the barrel and extending along the slot; a carriage slidably engaged to the guide rail, a lower end of the carriage extending through the slot, wherein the barrel is configured for insertion of a projectile, such that the projectile is positioned adjacent to the carriage; a driver attached to the carriage and extending along the bottom of the barrel toward an open end of the barrel; a pair of first arms pivotally attached to and extending bilaterally from the barrel proximate to a butt end of the barrel, each first arm being operationally engaged to the driver distal from the carriage, wherein each first arm is configured for grasping in a respective hand of a user, positioning the user for pivoting the first arms relative to the barrel for charging the driver; a catch attached to the barrel and being configured for selectively attaching to the driver upon charging of the driver; a switch attached to the barrel and operationally engaged to the catch, wherein the switch is configured for switching for discharging the driver for propelling the projectile from the barrel; and wherein the driver comprises a cylinder attached, proximate to a first terminus of the cylinder, to the lower end of the carriage, the cylinder being slidably attached to the bottom of the barrel, a channel extending into the first terminus of the cylinder, a spring positioned in the channel, and a rod attached to the barrel, the rod being aligned with and selectively insertable into the channel, such that the spring is compressed by the rod as the cylinder is motivated along the barrel from the open end toward the butt end. a barrel; a slot positioned in a bottom of the barrel; a guide rail attached to the barrel and extending along the slot; a carriage slidably engaged to the guide rail, a lower end of the carriage extending through the slot, wherein the barrel is configured for insertion of a projectile, such that the projectile is positioned adjacent to the carriage; a driver attached to the carriage and extending along the bottom of the barrel toward an open end of the barrel; a pair of first arms pivotally attached to and extending bilaterally from the barrel proximate to a butt end of the barrel, each first arm being operationally engaged to the driver distal from the carriage, wherein each first arm is configured for grasping in a respective hand of a user, positioning the user for pivoting the first arms relative to the barrel for charging the driver; a catch attached to the barrel and being configured for selectively attaching to the driver upon charging of the driver; a switch attached to the barrel and operationally engaged to the catch, wherein the switch is configured for switching for discharging the driver for propelling the projectile from the barrel; and wherein the driver comprises a cylinder attached, proximate to a first terminus of the cylinder, to the lower end of the carriage, the cylinder being slidably attached to the bottom of the barrel, a channel extending into the first terminus of the cylinder, a spring positioned in the channel, and a rod attached to the barrel, the rod being aligned with and selectively insertable into the channel, such that the spring is compressed by the rod as the cylinder is motivated along the barrel from the open end toward the butt end. a cylinder attached, proximate to a first terminus of the cylinder, to the lower end of the carriage, the cylinder being slidably attached to the bottom of the barrel, a channel extending into the first terminus of the cylinder, a spring positioned in the channel, and a rod attached to the barrel, the rod being aligned with and selectively insertable into the channel, such that the spring is compressed by the rod as the cylinder is motivated along the barrel from the open end toward the butt end.
Google Patents
https://patents.google.com/patent/US12435947
USPTO PDF
https://image-ppubs.uspto.gov/dirsearch-public/print/downloadPdf/12435947