US12435950 - Handgun optic mounting system

handgunopticmountingsystem
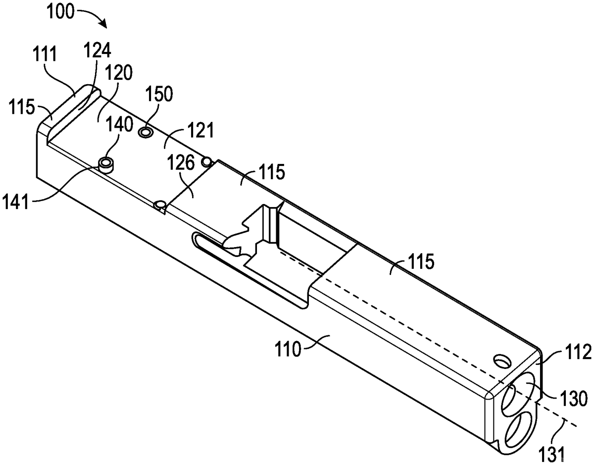
The disclosed handgun optic mounting system enhances accuracy and durability by incorporating a recessed optic mount on the handgun slide, which is angled to compensate for bullet drop at longer distances. It features multiple threaded apertures, including one with a mounting protrusion and another designed for a larger fastener to increase clamping force on the optic.
Claim 1
- A handgun optic mounting system, comprising: a handgun slide having a proximal end, a distal end, a first half disposed at the proximal end, a second half disposed on the distal end, and an upper surface, the handgun slide comprising a barrel aperture having a barrel central axis; an optic recess disposed on the handgun slide, the optic recess having a recessed surface disposed lower than the upper surface, the recessed surface forming a recess plane anteriorly tilted wherein the recess plane comprises a recessed angle with at least one of the upper surface or the barrel central axis, wherein the recessed angle comprises a value between and inclusive of 5 to 25 minutes of angle; and a plurality of threaded apertures extending into the recessed surface, the plurality of threaded apertures comprising a first aperture and a second aperture, wherein the first aperture comprises a single mounting protrusion extending above the recessed surface and the second aperture terminates flush with the recessed surface, wherein the first aperture further comprises a first diameter and the second aperture comprises a second diameter wherein the second diameter is greater than the first diameter. a handgun slide having a proximal end, a distal end, a first half disposed at the proximal end, a second half disposed on the distal end, and an upper surface, the handgun slide comprising a barrel aperture having a barrel central axis; an optic recess disposed on the handgun slide, the optic recess having a recessed surface disposed lower than the upper surface, the recessed surface forming a recess plane anteriorly tilted wherein the recess plane comprises a recessed angle with at least one of the upper surface or the barrel central axis, wherein the recessed angle comprises a value between and inclusive of 5 to 25 minutes of angle; and a plurality of threaded apertures extending into the recessed surface, the plurality of threaded apertures comprising a first aperture and a second aperture, wherein the first aperture comprises a single mounting protrusion extending above the recessed surface and the second aperture terminates flush with the recessed surface, wherein the first aperture further comprises a first diameter and the second aperture comprises a second diameter wherein the second diameter is greater than the first diameter.
Google Patents
https://patents.google.com/patent/US12435950
USPTO PDF
https://image-ppubs.uspto.gov/dirsearch-public/print/downloadPdf/12435950