US12435956 - Methods and apparatus for a high voltage circuit

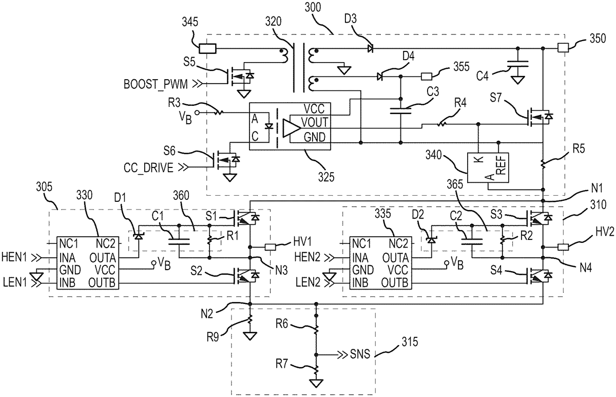
The patent describes a conducted electrical weapon (CEW) that utilizes a charge storage circuit and multiple switch devices to deliver a stimulus signal through a deployed electrode. The configuration allows for controlled current flow based on the charge state of the storage circuit, enhancing the weapon’s operational effectiveness.
Claim 1
- A signal generator circuit, comprising: a current source circuit comprising one of: a charge storage device, a high-side driver module, and a transistor; a first driver circuit connected to the current source circuit at a first node and comprising: a first switch device connected in series with a second switch device at a second node; and a first charge storage device connected between the first switch device and the second switch device; and a second driver circuit connected to the current source circuit at the first node and comprising: a third switch device connected in series with a fourth switch device at a third node; and a second charge storage device connected between the third switch device and the fourth switch device, wherein when the first switch device is driven in a closed state, the first node is electrically coupled to the second node via the first switch device. a current source circuit comprising one of: a charge storage device, a high-side driver module, and a transistor; a first driver circuit connected to the current source circuit at a first node and comprising: a first switch device connected in series with a second switch device at a second node; and a first charge storage device connected between the first switch device and the second switch device; and a first switch device connected in series with a second switch device at a second node; and a first charge storage device connected between the first switch device and the second switch device; and a second driver circuit connected to the current source circuit at the first node and comprising: a third switch device connected in series with a fourth switch device at a third node; and a second charge storage device connected between the third switch device and the fourth switch device, wherein when the first switch device is driven in a closed state, the first node is electrically coupled to the second node via the first switch device. a third switch device connected in series with a fourth switch device at a third node; and a second charge storage device connected between the third switch device and the fourth switch device, wherein when the first switch device is driven in a closed state, the first node is electrically coupled to the second node via the first switch device.
Google Patents
https://patents.google.com/patent/US12435956
USPTO PDF
https://image-ppubs.uspto.gov/dirsearch-public/print/downloadPdf/12435956