US12442616 - Half pipe disrupter

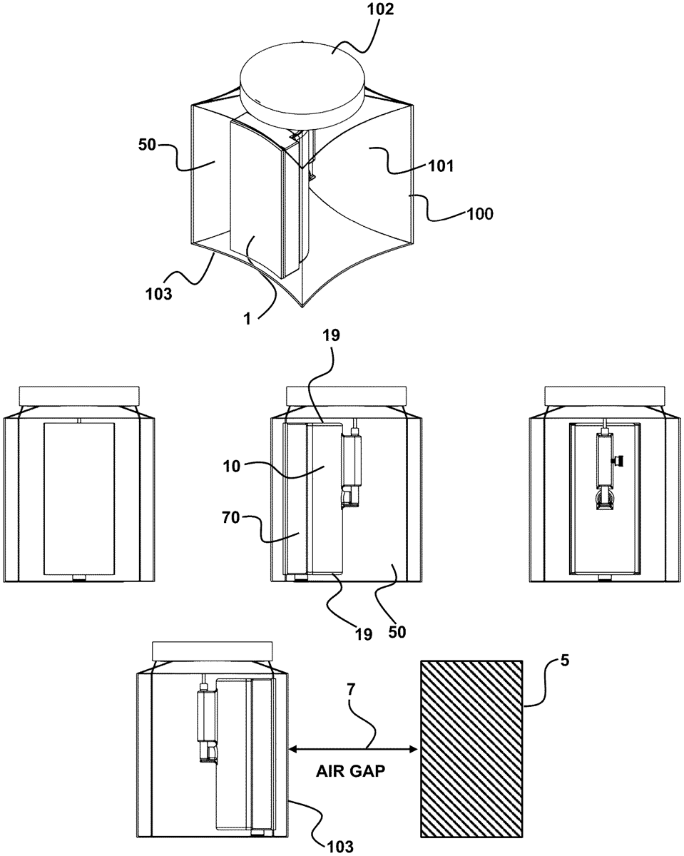
The patent describes a mass focusing shaped charge designed to disrupt targets using a combination of an explosives shell, a SMART material distal body, and a conformable layer of explosives. Upon detonation, the inner volume of fluid or metal liner is forcefully ejected, creating a jet directed at the target for effective disruption.
Claim 1
- A mass focusing shaped charge to disrupt a target comprising: an explosives shell having: an explosives shell surface having an inside surface and an outside surface; an explosives shell sectioned profile that is at least partially curved; one or more symmetry planes; an inner volume defined by the explosives shell inside surface configured to contain an inner volume of fluid; a distal opening; a distal body connected to the explosives shell distal opening to close the inner volume and contain the inner volume of fluid, wherein the distal body comprises a SMART material that is positioned between the inner volume of fluid and the target; a fluid body, wherein the explosives shell is immersed in the fluid body; a conformable layer of explosives that conforms to at least a portion of a surface of the explosives shell, the conformable layer of explosives configured for explosive initiation by a detonator; wherein upon explosive initiation the inner volume of fluid is configured to implode and form a fluid jet that is forced in a direction through the distal body toward the target. an explosives shell having: an explosives shell surface having an inside surface and an outside surface; an explosives shell sectioned profile that is at least partially curved; one or more symmetry planes; an inner volume defined by the explosives shell inside surface configured to contain an inner volume of fluid; a distal opening; an explosives shell surface having an inside surface and an outside surface; an explosives shell sectioned profile that is at least partially curved; one or more symmetry planes; an inner volume defined by the explosives shell inside surface configured to contain an inner volume of fluid; a distal opening; a distal body connected to the explosives shell distal opening to close the inner volume and contain the inner volume of fluid, wherein the distal body comprises a SMART material that is positioned between the inner volume of fluid and the target; a fluid body, wherein the explosives shell is immersed in the fluid body; a conformable layer of explosives that conforms to at least a portion of a surface of the explosives shell, the conformable layer of explosives configured for explosive initiation by a detonator; wherein upon explosive initiation the inner volume of fluid is configured to implode and form a fluid jet that is forced in a direction through the distal body toward the target.
Google Patents
https://patents.google.com/patent/US12442616
USPTO PDF
https://image-ppubs.uspto.gov/dirsearch-public/print/downloadPdf/12442616